Сколько Ампер В Аккумуляторе Шуруповерта
Ток потребления шуруповёрта. После длительных баталий на форуме и здесь, я решил снять показания с помощью приборов. Для тех кто не в теме, в батарее, стоят аккумуляторы от ноутбука. Респект за видео! При падении ниже 3 вольт акумы начинают деградировать и довольно быстро, потому я и агитирую за высокотоковые акумы, у них просадка до 3 вольт на ячейку происходит только под нагрузкой 30 ампер на ячейку. Спаял 4 по 2 банки от ноутбука вывел балансный разъем , заряжал аймаксом шестым в итоге одним зарядом хватает крутить рабочий день металлочерепицу , было сделано две кровли около мкв каждая , акум жив и здоров. Сейчас на Китае есть платы контроллеров по 10 баксов , так что можно использовать штатную зарядку. Но пора переходить на LiFePo4 на сегодняшний день переделка одного акума на литий-железо обойдется в 40 баксов 4 банки Lifepo4 и плата контролера , если пересыпать nicd то около Полезно, подписался, для себя лишний раз убедился, что с литий-ионной батареей и платой балансира, «шурик» будет жить дольше.
Что нужно учесть при замене батареи на блок питания
Подбирая блок питания шуруповерта, я ориентировался в первую очередь на его размеры, поскольку было необходимо, чтобы он «вписался» в корпус аккумулятора.

Для большей точности размер корпуса нужно вымерять изнутри, изъяв предварительно все составляющие компоненты.
Далее, я внимательно осмотрел корпус и нашёл там отметку об уровне питающего напряжения.
Потом, с учётом мощности и ориентируясь на напряжение, высчитал ток потребления (конечно, было бы гораздо лучше, будь он тоже уже указан, но его не было). Конечно, если к вычислениям душа не лежит, то можно попробовать выбрать блок питания на вскидку.
Когда я покупал себе питающий блок, то кроме потребляемого тока, оценил и уровень ёмкости слетевшего аккумулятора. Допустим, что ёмкость равняется 1,2 ампер/час, а времени на полную зарядку требуется около 2,5 часов, тогда вырабатываемый ток примерно равен промежуточному значению между этими двумя числами (1,9 А).
Чтобы не ошибиться с выбором перед походом в магазин, записал для себя следующие параметры, которые нужно учитывать, когда собираешься подключать блок питания шуруповерта своими руками:
- Габариты;
- I(min);
- Необходимый уровень питающего напряжения.
По своему опыту могу отметить, что шуруповёрт переделанный под питание от сети, становится гораздо легче. Лично для меня это был приятный момент ,ну а шнур с вилкой непомеха.
Выпрямитель для шуруповерта своими руками
Выпрямитель необходим для преобразования переменного тока в постоянный. Он функционирует за счет полупроводниковых диодов, которые играют роль преобразователей. Чтобы проанализировать работу устройства, применяют осциллограф. Главным в изготовлении выпрямителя является правильный выбор диодов. Для использования в блоке питания подойдут элементы с показателями обратного тока до 10 ампер. Количество диодов равно 4, и их следует устанавливать по мостовому типу. Если применять схему на одном полупроводнике, полезное действие блока снижается вдвое.
Это важно: запрещено работать с электрическими элементами, находящимися под напряжением. Перед тем как совершать какие-либо манипуляции, нужно убедиться, что прибор отключен от сети
Определение неисправности аккумулятора
Вполне может оказаться, что у всей батареи неисправен только один элемент, а значит производить полную замену нет смысла, поэтому не поленитесь и проверьте каждую «банку» в ней.
Для такой проверки потребуется только обыкновенный мультиметр. Изначально всю аккумуляторную батарею следует поставить на зарядку и дождаться пока она завершится, а после замерить уровень напряжения в каждом из элементов цепи и выявить, где оно не соответствует номинальному. Именно эти элементы, скорее всего, подлежат замене.
Удостовериться в этом можно, если дождаться, когда батарея разрядится. Тогда производится повторная оценка уровня напряжения на каждой из банок. На неисправных элементах «проседание» уровня напряжения будет наиболее очевидным. И если такой элемент всего один, то гораздо проще заменить его.
В противном случае лучше будет просто отказаться от аккумулятора в пользу блока питания.
Советы по эксплуатации сетевого шуруповерта
Эксперты рекомендуют следовать определенным правилам всем, кто решился на реконструкцию шуруповерта и конструирование блока питания 12В для шуруповерта своими руками. Инструкция по модернизации инструмента включает такие советы:
- Сетевой шуруповерт можно эксплуатировать сколько угодно и не беспокоиться о том, что батарея разрядится. Однако такому инструменту необходим отдых. Потому делайте пятиминутные перерывы во избежание перегрева или перегрузки инструмента.
- Работая с шуруповертом, не забывайте крепить провод в области локтя. Так эксплуатировать прибор будет удобнее, а шнур не будет мешать при ввинчивании шурупов.
- Проводите систематическую очистку блока питания шуруповерта от скоплений пыли и грязевых отложений.
- Новый аккумулятор предусмотрен заземлением.
- Не применяйте для подключения к сети больше одного удлинителя.
- Такой прибор не рекомендуется для использования в высотных работах (от двух метров).
Придерживаясь вышеописанных рекомендаций, вы сможете эксплуатировать шуруповерт дольше и продлить его рабочее состояние, надолго отложив покупку нового инструмента.
Теперь вы знаете, какой блок питания нужен для шуруповерта 12В, и какие материалы использовать для того, чтобы сделать такую конструкцию самостоятельно в домашних условиях. Нет необходимости заменять старый шуруповерт на новый. Радикальное решение стоит принимать, только если агрегат полностью вышел из строя, а «сдохший» аккумулятор – не проблема для умельца. Достаточно лишь иметь понятие о радиотехнике и вооружиться паяльником. Тогда и справиться с поставленной задачей будет проще.
Возможные источники питания
Чтобы любой шуруповерт мог функционировать от сети, ему необходимо обеспечить преобразование напряжения: инструмент требует всего 12, 16 либо 18 вольт. Все источники питания делятся на 2 большие группы: они могут быть импульсными либо трансформаторными.
Импульсные системы
В этих блоках питания входное напряжение сначала выпрямляется, затем преобразуется в высокочастотные импульсы. Их подают через трансформатор либо через обычные резисторы. Второй способ дает возможность получить малогабаритную конструкцию, так как в схеме отсутствует массивный силовой трансформатор.
Этот блок питания для шуруповерта обычно имеет довольно высокий КПД, достигающий 98%. Плюсом решения является защита от короткого замыкания, безопасность, которую гарантирует блокировка без нагрузки. Минусы у импульсных блоков есть. Это более низкая мощность, если сравнивать это значение с трансформаторным вариантом. Если нижний предел нагрузки минимален, то такой блок питания не сможет работать. Еще один недостаток — более сложный ремонт в случае выхода импульсного БП из строя.
Трансформаторный блок
Это классическое устройство. В линейный источник питания входит понижающий трансформатор и выпрямитель, превращающий переменный ток в постоянный. Последний элемент бывает двух видов — однополупериодный, состоящий из одного диода, либо двухполупериодный, в его составе диодный мост, собранный из 4 электронных приборов.
В схему трансформаторного блока может входить конденсатор, стабилизатор, высокочастотный фильтр и защита от короткого замыкания. Достоинства устройства: простота, надежность, ремонтопригодность, отсутствие помех, а также очень дорогих элементов. Минусы — большие габариты и такой же вес, низкий КПД. Так как часть напряжения забирает стабилизатор, выходное значение обязано быть выше того, что требуется для работы шуруповерта. Например, для инструмента с питанием 12 В нужен БП, имеющий выходное напряжение от 12 до 14 вольт.
Необходимые материалы и инструменты
Для большинства третий вариант может показаться сложным, ведь гораздо проще купить новый прибор и пользоваться ним еще несколько лет. На самом же деле старый шуруповерт прослужит еще дольше, но для этого необходимо его восстановить. Сделать это довольно просто, а для этого потребуется следующий инструмент и материалы:
- Зарядное устройство, которое раннее выполняло важную роль зарядки аккумулятора.
- Многожильный электрический кабель.
- Аккумулятор от шуруповерта, который пришел в негодность.
Из инструментов потребуется паяльник, кислота, припой и изоляционная лента.
Все эти детали позволят преобразить шуруповерт для возможности его подключения к сети 220 Вольт.
Блок питания для шуруповерта: подготовка к переделке
Опытные ремонтники советуют поместить блок питания для шуруповерта внутрь изделия. Так на него не будут попадать пыль, грязь, жидкости, значит, элемент прослужит дольше. На данном этапе нужно вскрыть разборный корпус. Для открытия возьмите перочинный ножик и пройдитесь по шву.
Открыть корпус шуруповерта для монтажа блока питания поможет ножик. Пройдитесь им по соединительным швам, чтобы ослабить крепления
Зачем производится вскрытие:
- чтобы понять, куда поместить блок питания;
- узнать, с каким напряжением предстоит работать (внутри имеется маркировка, обычно 12-18 вольт);
- определить способ установки.
Переделка шуруповёрта
Когда я подобрал и проверил блок питания, то решил, что можно приступать к переделке.
Сначала снял корпус БП. Мне повезло, он крепился на саморезы, со склеенным пришлось бы возиться дольше. Если у вас всё-таки склеенный шов, то необходимо простучать его молотком, ещё можно попробовать разобрать его с помощью лезвия ножа, подбивая его молотком, тогда корпус точно поддастся.
Потом я взялся за вилку: отпаял шнур с выводами. Когда этот момент был выполнен, я поместил «обнажённый» блок питания в разъём для аккумулятора и через специальное отверстие в аккумуляторном корпусе подвёл к БП шнур для подключения к сетевому питанию. Выход блока с соблюдением полярности был соединён с клеммами. Потом всю конструкцию поместил в аккумуляторный корпус.
Наконец, попробовал вкрутить несколько шурупов — всё исправно работало.
Существует вариант, что устраивающий вас блок питания окажется слишком велик по размерам, тогда логично будет обустроить для него подходящий разъём в рукоятке.
В процессе работы нужно, чтобы батарея не находилась под напряжением, поэтому я подсоединил блок питания шуруповерта параллельно относительно питающих выводов, а на разрыве плюсового провода сделал диодный переход с необходимым уровнем мощности. При этом минусовой полюс сориентировал на мотор.
Также подправить ситуацию можно дополнив управляющую микросхему несколькими новыми радиаторами. После внесения изменений обязательно производится проверочный запуск инструмента, который позволяет удостовериться в том, что шуруповерт не нагревается. Такая проверка поможет вам самостоятельно разобраться в том, для каких элементов особенно необходимо охлаждение. Возможно, что для решения данной проблемы понадобится сделать несколько отверстий в корпусе.
Батарея или блок питания от компьютерной техники
Устройство, поддерживающее заряд ПК или ноутбука, вполне сгодится для выполнения поставленной цели. Процесс внедрения блока питания в шуруповерт выглядит следующим образом:
Корпус шуруповерта полностью разбирают.
Убирают старый источник питания, а провода распаивают.
Проводку нового блока подключают к проводке старого, питающей прошлый аккумулятор
При проведении такой операции важно соблюдать полярность!
Включают шуруповерт и проверяют на предмет работоспособности. Если все провода подсоединены правильно, то машинка заработает.
В корпусе устройства предусмотрено отверстие, куда легко помещается штекер с разъемом для подзарядки. Модернизировав шуруповерт таким способом, вы получаете усовершенствованное устройство, которое теперь в процессе работы еще и подзаряжается как ноутбук от сети в 220V.
Новый источник питания монтируют внутрь шуруповерта, закрепляя его клеем.
Остальные корпусные элементы возвращают на место и скручивают изделие, придавая ему первоначальный вид.
Модернизировав шуруповерт таким способом, вы получаете усовершенствованное устройство, которое теперь в процессе работы еще и подзаряжается как ноутбук от сети в 220V.
Новый источник питания монтируют внутрь шуруповерта, закрепляя его клеем.
Остальные корпусные элементы возвращают на место и скручивают изделие, придавая ему первоначальный вид.
Вот и все! Теперь вы знаете, как из аккумуляторного шуруповерта сделать сетевой.
Составляющие части устройства
Собираемый нами сегодня механизм состоит из трёх частей:
понижающего трансформатора, являющегося наиболее важной и неотъемлемой частью;
конденсатора, с помощью которого стабилизируется текущее напряжение до оптимальных показаний;
диодов, которые необходимы для сборки диодного моста своими руками.
Каждая из частей очень важна. Если в какой-либо из них допустить ошибку при сборке, то это приведёт к тому, что неправильно будет работать собранный агрегат и подключённый к системе бытовой электрический прибор. А также собранный аппарат может вообще не включиться. Рассмотрим каждый из компонентов механизма более подробно.
Простое восстановление инструмента
Основным преимуществом аккумуляторного шуруповерта является его мобильность. Применяется в таких инструментах литий-ионный аккумулятор, который защищен от перегрузки и полной разрядки. Кроме того, существует защита и от перезарядки в виде отдельной схемы, встроенной в сам элемент. Основным источником питания (первичным) является 220 В, выполняется и подзарядка аккумуляторной батареи.
В зависимости от модели шуруповерта на аккумулятор поступает напряжение зарядки от 14 В до 21 В. На выходе батареи получается напряжение питания от 12 до 18 В. Этот тип АКБ служит долго, но если инструментом не пользоваться продолжительное время, не поможет и встроенная защита от разрядки элементов батареи: разрядка происходит постоянно.
Для увеличения срока службы необходимо постоянно разряжать и заряжать батарею. Если по какой-то причине не удалось «уследить» за инструментом, часто выходит из строя какой-либо конкретный элемент аккумулятора. Существуют основные способы решения этой проблемы:
- Заменить батарею на новую.
- Приобрести новый инструмент.
- Переделать шуруповерт с питанием от сети.
При замене аккумулятора необходимо учесть, что новый достаточно сложно найти. Инструменты делают так, чтобы тяжело было найти для них запчасти. Фирме невыгодно производить свое изделие с высокой ремонтоспособностью, так как ей нужны доходы от покупки продукции. Найти новый аккумулятор возможно только у дилеров. Кроме того, возможен еще вариант: разобрать аккумуляторную батарею и поменять неисправный элемент питания.
При покупке нового инструмента пользователь стремится купить модель более качественного образца, забывая о правилах эксплуатации аккумуляторов литий-ионного типа. Основные правила, которые помогут надолго сохранить срок службы инструмента:
- При покупке в зимний период «запускать» инструмент сразу категорически запрещается. Нужно подождать около часа, пока он не «прогреется» до уровня комнатной температуры.
- Поставить батарею на зарядку.
- Цикл зарядки и разрядки АКБ выполнить около 3 раз.
Если ни один из вариантов решения проблемы не подходит, нужно приступить к переделке шуруповерта на сетевой своими руками. Сделать это просто. Существует множество простых и сложных способов. Изменение модели инструмента имеет несколько положительных сторон:
- Нет необходимости подзарядки батареи.
- Снижается нагрузка на механическую часть.
- Множество вариантов блоков питания.
- Увеличение качественных характеристик изделия.
⇡#«Игровым ПК не нужны блоки на 1 кВт» — комментаторы под статьями на 3DNews.ru
Подобные комментарии часто приходится видеть, когда речь заходит об игровом ПК. В абсолютном большинстве случаев — и мы это выяснили на практике — так оно и есть. Однако в 2021 году есть система, которая способна поразить своим энергопотреблением.

Речь, конечно же, идет об экстремальной сборке в ее, так сказать, максимально боевой форме. Не так давно на нашем сайте вышла статья «На что способен самый быстрый игровой ПК 2021 года. Тестируем систему с двумя GeForce RTX 2080 Ti в 8K-разрешении» — в ней мы подробно рассказали о производительности пары самых быстрых GeForce-видеокарт в 4K- и 8K-разрешении. Система быстрая, но комплектующие подобраны таким образом, что ее очень просто сделать еще быстрее. К тому же выяснилось, что разгон Core i9-9900K до 5,2 ГГц оказывается совершенно не лишним занятием в случае с SLI-массивом GeForce RTX 2080 Ti и играми в Ultra HD. Только вот на пике, как мы видим, такая разогнанная конфигурация потребляет больше 800 Вт. Следовательно, для такой системы в таких условиях киловаттный блок питания точно не окажется лишним.
С чего начинать работы
Чтобы переделать шуруповерт под питание от электрической сети 220 В, прежде всего, потребуется припаять к контактам зарядного устройства электрический провод. Но так как провод имеет медные жилы, а блок питания латунные клеммы, то соединить их будет очень непросто. Но в мире нет ничего не возможного, поэтому используем кислоту в качестве соединителя. Кислотой необходимо обработать клеммы зарядного устройства, после чего припаять провод контактам. Соединение должно быть качественным, так как от него зависит контакт и функционирование самого устройства.
На следующем этапе подвергается переделке старый аккумулятор. Для этого его необходимо разобрать и удалить из него всю внутреннюю часть. Хотя производитель не рекомендует этого делать, но конструкция батареи нам понадобится
Во время разборки аккумулятора важно пользовать средствами защиты и не выбрасывать внутреннее наполнение в мусор, а произвести ее утилизацию. В корпус аккумулятора следует поместить груз, который и будет являться противовесом.
После того, как внутренность аккумулятора будет удалена, приступаем к процессу припаивания свободных контактов электрического кабеля к выводам батареи, находящихся во внутренней части корпуса.
Важно! Во время припаивания важно контролировать полярность, но если ее не соблюдать, то страшного ничего не произойдет, только устройство будет функционировать в другую сторону. Но с помощью переключателя данная ситуация легко решается
Электрический кабель заводится в батарею с внешней стороны, сделав в конструкции специальное отверстие необходимого диаметра
После того этого важно сделать так, чтобы кабель надежно фиксировался в конструкции корпуса аккумулятора. Для этого как раз и необходима изоляционная лента, с помощью которой следует обмотать кабель изнутри и снаружи, тем самым сделав замок
После этого вставляем корпус аккумулятора в шуруповерт и используем его по назначению.
Используя зарядку от ноутбука
миф способ востребует от вас на уровне кинотеатра технических познаний. Если появилась потребность переработать шуруповёрт в сетевой, для вас сумеет посодействовать ненадобная зарядка от ноутбука, потому что она имеет идентичные свойства и без усилий найдётся во всяком доме. Сначала нужно поглядеть, какое выходное напряжение у зарядки. Подходят зарядные устройства на 12–19В.
Будет нужно доработать аккумуляторный блок, для этой цели необходимо его разобрать и достать оттуда сломавшиеся аккумуляторы автомобильные.
- Взять зарядку от ноутбука.
- Отрезать разъём и зачистить провода от изоляции.
- Взять оголённые провода и припаять их. Если нет таковой способности, примотать их изолентой.
- Сделать в корпусе отверстие для провода и собрать конструкцию.
Сетевые шуруповёрты Россия .
Очень обычная переделка шуруповерта 14,4В на питание от сети 220В, с применением блока питания от старенького ноутбука.
Задействовав наружный блок питания от компьютера
Что же понадобится, необходимо блок питания «АТ» формата. Полностью возможно, что вы найдёте его у себя дома, однако можно и без усилий приобрести старенькый работающий блок питания на любом радиорынке. Его цена навряд ли будет велика
Важно держать в голове, что подойдёт блок питания, мощность которого составляет 300–350 Вт, а ток в цепи 12 В — не ниже 16 А
Деяния по переделке последующие:
- Раскрутить корпус блока питания. Под корпусом видно вентилятор, плату и огромное количество проводов, которые идут от платы к разъёмам.
- Требуется снять защиту от включения. Для этой цели вам нужно отыскать на большенном квадратном разъёме зелёный провод.
- Соединить зелёный провод с хоть каким чёрным проводом из этого же разъёма. Для удобства есть вариант обрезать его покороче и бросить снутри корпуса. При необходимости, применяют перемычку из малеханького куска провода.
- Обрезать ненадобные провода, оставив жёлтый и чёрный.
- Используя кусочек провода как удлинитель, чтоб блок питания во время работы мог находиться в комфортном месте, припаиваем его к жёлтому и к чёрному проводам
- Другой конец провода прикрепляем на клеммы пустого аккумуляторного отсека, так же как и в предшествующей аннотации.
Используя аккумулятор автомобильный
Принцип таковой переделки не отличается от метода с применением зарядки от ноутбука. Благодаря сегодняшним тенденциям на малогабаритные импульсные зарядки, линейные аналоговые приборы неавтоматизированные покупают на авторынке по очень симпатичной стоимости.
Если напряжение на аккуме изменяется плавным образом, то он подойдёт к полностью хоть какому шуруповёрту, и переделка такового инструмента делается так:
- Для подключения шуруповёрта к авто аккуму следует использовать дешевые провода с малым сечением, подходят авто провода для прикуривания.
- На всех сторонах каждого из проводов отрезать так именуемые «крокодилы», на свободном конце зачистить провод от изоляции на 2–3 см.
Взяв китайскую плату блока питания
Что же понадобится, речь идёт о блоке питания с выходным напряжением 24 В и наибольшим током 9 А. Шуруповёрты обычно рассчитаны под напряжение 12 В или 18 В, потому поначалу придётся снизить напряжение до применимого уровня.
Чтоб поменять выходное напряжение, необходимо внести доработку в цепь связи с клиентами. За выходное напряжение отвечает резистор под позицией R10. Его номинал 2320 Ом. Заместо этого резистора установим подстроечный резистор, таким макаром появится возможность изменять выходное напряжение блока питания под наши нужды, номинал подстроечного резистора 10 кОм.
- Выпаять неизменный резистор.
Если аккумулятор неисправен: как сделать адаптер для шуруповёрта?
Встречаются два метода сделать адаптер: использовать старенькый аккумуляторный блок, в нём уже есть разъём который подойдёт под шуруповёрт, либо подсоединить провода впрямую в рукоять.
Подключив старенькый аккумуляторный блок
Подключение старенького блока производится так:
- Прежде всего будет нужно разобрать аккумуляторный блок, для этой цели вам открутить винты как показано на рисунке.
Подсоединяя провода впрямую
Подсоединение проводов впрямую к шуруповёрту производится так:
- Чтоб подсоединить провода впрямую, необходимо первым делом разобрать шуруповёрт, другими словами открутить болты, скрепляющие две половинки корпуса.
Поздравляем! Сейчас, когда вы узнали, как переработать шуруповёрт в сетевой, вы можете с легкость применить эти познания практически. И непринципиально, заряжен ваш шуруповёрт либо нет. Не придётся думать о том, как хватит батареи. Фортуны для вас в переделке!
Сборка рабочей конструкции
Для удобства пользования и подключения, я вывел шнур от блока питания в корпус батареи. Шнур взял 3,5 метра
длинной, какой был в наличии. Из батареи удалил все аккумуляторные элементы и вмонтировал LC-фильтр. Теперь,
если у меня появится каким-то образом исправная батарея — ее всегда можно будет поставить на шуруповерт, а блок
питания убрать про запас. Аккумуляторы из батареи не выбросил, есть идея где их применить, но это тема для
другого обзора.

Так как шнур, соединяющий блок с шуруповертом, обладает определенным сопротивлением и индуктивностью, можно
попробовать замкнуть перемычкой выводы катушки L1. Теоретически, это может повысить мощность на мизерное
значение.
Со шнуром шуруповерт себя отлично чувствует, но если честно, мне он показался несколько слабоватым при торможении
рукой. Но пробные закручивания саморезов развеяли мои сомнения: саморезы длинной 35 мм спокойно закручиваются в фанеру
20 мм. Это означает, что шуруповерт будет удовлетворять большинство потребностей в ремонте.


У блока я отрезал все выходные провода, оставив зеленый стартовый, его конец я припаял к общему проводнику
платы, куда впаяны все черные. Лучше всего аккуратно выпаять все провода, но мой паяльник был слишком слабый
для этого и пришлось обрезать. К общему контакту и +12 (куда впаяны желтые) припаял два коротких, жестких
медных провода и соединил через клемник со шнуром к шурику.

На этом мы закончим данный обзор, желаемого мы добились — шуруповерт отлично работает от компьютерного блока
питания. В дальнейшем планирую сделать для платы блока питания добротный фанерный корпус без щелей —
тесты показали, радиаторы на плате совсем не греются и можно не беспокоиться о перегреве элементов в закрытом
корпусе.

На что обратить внимание:
- Габариты. Идеально, когда готовый блок питания помещается в пластиковом корпусе от штатной батареи. Никаких проблем в процессе работы шуруповертом.
- Предел по току. Если данный параметр не учитывать, то должного крутящего момента не добиться. Уточнить значение можно по паспорту шуруповерта. При отсутствии оного – по батарее, которым он комплектовался. Как правило, ток выбирается примерно в 1,6 (±0,2) раза больший, чем емкость (в А/ч) аккумулятора.
- Выходное напряжение. Стоит учесть, что при подключении нагрузки у некоторых блоков питания оно может падать на 1 – 2 В. Для использования эл/инструмента непринципиально, но знать следует.
- Тип БП. По оценке специалистов и мастеров-практиков, лучший вариант блока питания для шуруповерта – импульсный. Отсутствие силового трансформатора в схеме снижает вес изделия и уменьшает его габариты. Это самые компактные из всех БП.

Приобретя блок, останется лишь переделать «бокс», в котором помещалась АКБ. Это единственное, что сделать своими руками может даже дилетант.
- Первое. Высверлить в пластике отверстие (проще простого), завести внутрь корпуса провод (шнур) питания и присоединить (припаять) к выводам БП. Самый оптимальный вариант.
- Второе. В проводнике «+» установить п/п диод соответствующей мощности, катод которого – в сторону эл/двигателя шуруповерта.

Тем, кто имеет навыки работы с паяльником и мультиметром, «народные умельцы» предлагают столько схем, что выбрать что-либо подходящее не составит труда. Вот лишь некоторые из всего списка, который нетрудно составить:
- Блоки питания универсальные.
- На основе двух- и трехполюсных резисторов.
- Импульсные.
- С фильтрами.
- Блоки со схемой усиления и ряд других.

Что в подавляющем большинстве у них общего? Кроме импульсных модификаций – понижающий трансформатор, так как речь идет о вторичном (питающем для шуруповерта) напряжении номиналом 18 В. В этом и главная сложность. Подобрать Тр можно, но, к сожалению, на схемах указываются не все параметры радиодеталей. Если обозначена величина сопротивления, то не указана мощность; не все типы полупроводников обозначены и тому подобное. Да и по трансформатору информации практически никакой – сечение проводов, количество витков и так далее. Следовательно, расчеты придется делать самому.


Но даже трансформатор можно изготовить своими руками, при умении и желании. Например, взять его от блока питания старого ПК. Главное, чтобы соответствовал основным требованиям, указанным выше. В зависимости от модификации компьютера могут быть некоторые отличия. Можно использовать и часть схемы диммера светодиодной лампы. Имеются и другие варианты.


Но все это – время + опыт самостоятельного конструирования + теоретические знания. Вот и получается, что приобрести блок питания и/или переделать его, приспособив к работе с шуруповертом, гораздо проще и быстрее. Все другие варианты для человека, который с электрикой/электроникой на «Вы», вряд ли приемлемы, даже если есть схема и ее описание. Ведь придется еще и «травить» плату для размещения всех радиодеталей – многие ли знают, как это делать?

В продаже имеются готовые БП (импульсные) на 18 В, именно для шуруповертов. Их цена невысокая – от 846 рублей. Кто не уверен, что сможет своими руками собрать блок питания, стоит учесть.

Остается добавить, что решение о переходе на питание от БП имеет существенный недостаток – «привязка» к розетке. Но насколько это актуально для бытового шуруповерта? А преимуществ хватает – стабильность крутящего момента, возможность вдохнуть «вторую жизнь» в инструмент, к которому невозможно найти аккумуляторы, и никакого ухода за источником питания. А из чего его можно сделать, какие есть варианты, рассказано довольно подробно.
Решение за вами, уважаемый читатель!
Сборка сетевого блока питания для шуруповерта в корпусе от аккумулятора
Переделать шуруповерт в сетевой удобно, используя корпус от его аккумулятора. При этом в качестве внутренней начинки используют:
- блоки питания китайского производства напряжением 24 V;
- БП самостоятельной сборки;
- разные готовые блоки питания.
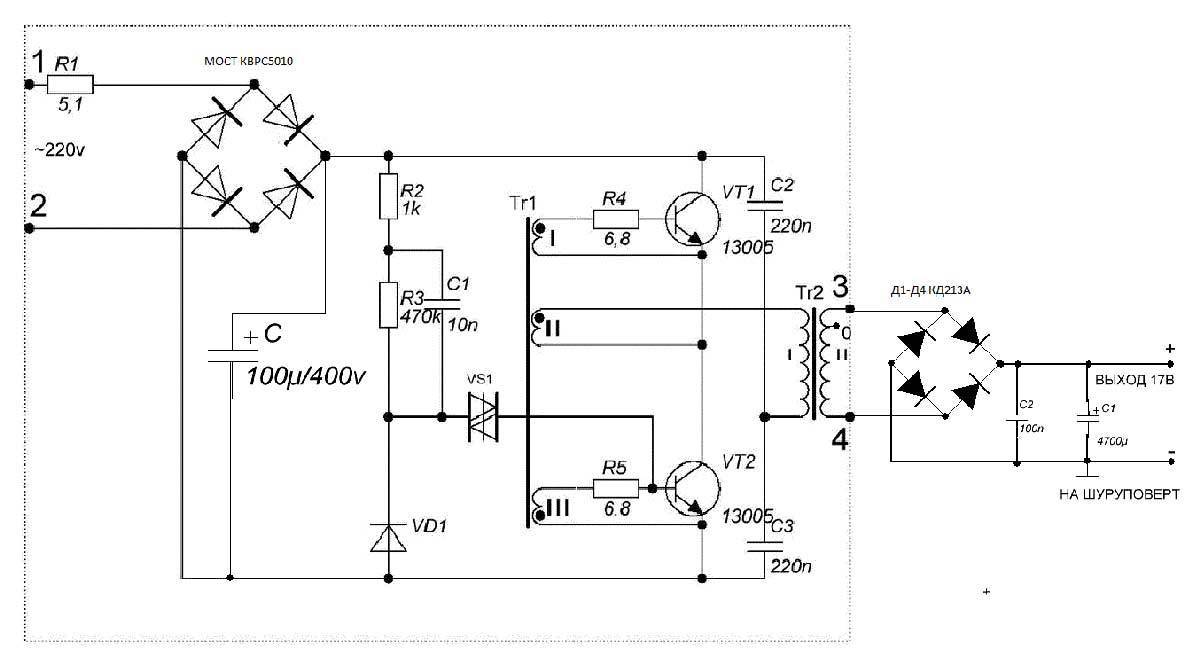
Переделывание китайского блока на 24 V
БП китайского производства с напряжением на выходе 24 V (максимальная сила тока 9 А) не составит труда купить в местах продажи радиодеталей. Большинство шуруповертов рассчитаны на работу от 12 либо 18 V. По этой причине необходимо понизить выходное напряжение китайского изделия до нужной величины. Сделать это несложно, даже обладая неглубокими познаниями в области радио и электротехники.
Модернизацию питающего источника выполняют следующим образом:
- выпаивают с помощью паяльника постоянный резистор R10 сопротивлением 2320 Ом, отвечающий за выходное напряжение;
- на его место впаивают регулируемый резистор с максимальным сопротивлением 10 кОм, предварительно выставив данный параметр на величину 2300 Ом, чтобы не сработала встроенная защита при включении сделанного устройства в сеть;
- подают питание на переделанный блок;
- вращением регулятора подстроечного сопротивления устанавливают требуемую величину выходного напряжения, контролируя ее значение с помощью мультиметра.
Чтобы подключить мультиметр, достаточно просто его щупами дотронуться до соответствующих контактов на выходе переделываемого изделия. При этом переключатель измерительного приспособления нужно выставить на диапазон постоянного напряжения. Если модернизируемый электроинструмент рассчитан на работу от 12 V, то следует убедиться, что ток при данной величине напряжения не превышает максимального значения 9 А. Иначе созданное устройство быстро выйдет из строя из-за перегрузки.
Самодельные встраиваемые источники питания
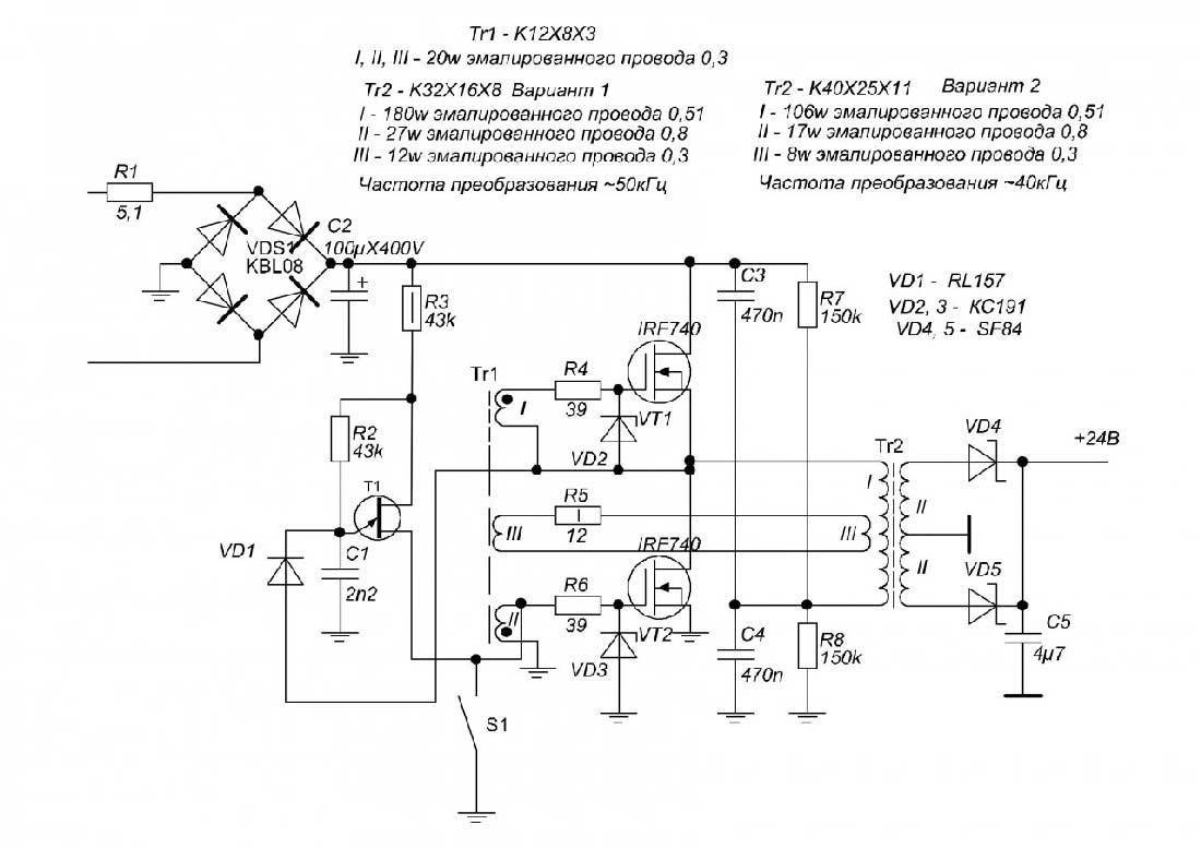
Чтобы запитать шуруповерт от сети, можно также собрать самодельный источник питания (ИП). Для этого потребуется электронный трансформатор на 60 Вт, например, Taschibra либо Feron. Их переделывать не нужно. Конечная схема блока питания, который предстоит собрать, представлена на фотографии далее. На ней отчетливо видны все детали с их маркировкой, а также основными параметрами.
Трансформатор Т1 понадобится сделать самостоятельно. Для этого поступают так:
- приобретают ферритовое кольцо (НМ2000), имеющее размеры 28*16*9 мм;
- надфилем стачивают на нем углы;
- изоляционной лентой обматывают кольцо.
Все детали схемы прикрепляют к пластине из алюминия (толщиной от 3 мм), которая одновременно будет выполнять проводящую функцию. Затем собранный ИП устанавливают в корпус от аккумулятора.
Можно брать готовые детали также из энергосберегающей лампы и от других устройств. Но схемы тогда будут другими, например, как на фото далее. Чтобы их спаять, потребуются определенные знания радиотехники.
Схеме выше соответствует ИП с балластной лампой, фотография которого в сборке представлена ниже. При этом лампочка выполняет дополнительно функцию подсветки.
Использование при переделке готовых блоков
Внутрь старого аккумуляторного корпуса можно поставить любой блок питания, рассчитанный на 220 V, главное, чтобы он имел подходящие размеры и требуемую величину напряжения на выходе. БП с нужными характеристиками покупают на радиорынках или в магазинах для радиолюбителей. Чтобы установить купленный блок питания для шуруповерта вместо аккумулятора поступают следующим образом.
- Предварительно разбирают приобретенное изделие.
- Переделывают его нужным образом, модернизируя под собственные нужды. При необходимости, соединительные проводки удлиняют, размещают отдельно трансформатор и микросхему. Для лучшего охлаждения платы, ее оснащают радиатором.
- После этого детали монтируют в корпус от аккумуляторного блока, в котором также делают отверстия, через которые воздух при циркуляции будет отводить тепло.
Все встроенные детали внутри корпуса должны быть надежно зафиксированы.
Степень модернизации приобретенного БП в каждом отдельном зависит от соответствия его первоначальных параметров требуемым величинам для электроинструмента. Чтобы не ошибиться с размерами приобретаемого источника питания, с собой берут корпус из-под батарей и примеряют выбранное изделие по нему.





































