согласно ГОСТ Р 21.1101-2013:
5.4.1 Линейные размеры на чертежах указывают без обозначения единиц длины:
— в метрах с точностью до двух знаков после запятой — на чертежах наружных сетей и коммуникаций, генерального плана и транспорта, за исключением случаев, оговоренных в соответствующих стандартах СПДС;
— в миллиметрах — на всех остальных видах чертежей.
5.4.2 Размерную линию на ее пересечении с выносными линиями, линиями контура или осевыми линиями ограничивают засечками длиной 2-4 мм, наносимыми с наклоном вправо под углом 45° к размерной линии, при этом размерные линии продолжают за крайние выносные линии (или соответственно за контурные или осевые) на 0-3 мм.
При нанесении размера диаметра или радиуса внутри окружности, а также углового размера размерную линию ограничивают стрелками. Стрелки применяют также при нанесении размеров радиусов и внутренних скруглений.
При нанесении размеров на аксонометрических схемах технологических трубопроводов и инженерных систем размерные линии допускается ограничивать стрелками.
Нанесение размеров выполняют согласно:
ГОСТ 2.302-68* Единая система конструкторской документации. Масштабы.
ГОСТ 21.501-2011 Система проектной документации для строительства. Правила выполнения рабочей документации архитектурных и конструктивных решений.
При нанесении размеров на строительных чертежах необходимо руководствоваться правилами указанных стандартов.
Размеры на строительных чертежах проставляют в миллиметрах без обозначения единиц измерения. Размеры на строительных чертежах, как правило, наносят в виде замкнутой цепи. Размеры допускается повторять.
Размерные линии на строительных чертежах ограничивают засечками – короткими штрихами длиной 2 – 4 мм, проводимыми с наклоном вправо под углом 45° к размерной линии. Толщина линии засечки равна толщине сплошной основной линии, принятой на данном чертеже. При этом размерные линии должны выступать за крайние выносные линии
на 1–3 мм (рис.1).
Рис. 1. Размерная цепочка (размеры)
При недостатке места для засечек на размерных линиях, представляющих собой замкнутую цепочку, засечки рекомендуется заменять точками. Выносная линия может выступать за
размерную линию на 1–5 мм (рис. 2).
Рис. 2. Размерная цепочка (засечки)
Размерное число нужно располагать над размерной линией на расстоянии от 0,5 до 1 мм.
При нанесении размеров диаметров, радиусов и углов размерные линии ограничивают стрелками.
Расстояние от контура чертежа до первой размерной линии рекомендуется принимать не менее 10 мм. На практике это расстояние принимают 14–20 мм.
Расстояние между параллельными размерными линиями должно быть не менее 7 мм, а от размерной линии до кружка координационной оси – 4 мм.
На чертежах планов различают размерные линии, проводимые внутри плана (внутренние) и вне размеров изображения (внешние). Рекомендуемые требования нанесения внутренних и внешних размерных линий указаны на рис. 3.

Рис. 2. Размерная цепочка (отступы)
На фасадах и разрезах здания кроме размерных линий показывают расстояние по высоте от уровня чистого пола первого этажа до уровня поверхности различных элементов здания условными знаками высотных отметок (рис. 4).

Рис. 3. Высотные отметки
Уровень пола первого этажа принимают за отметку отсчета: 0,000. Отметки выше условной нулевой обозначают со знаком « + »; ниже нулевой указывают со знаком « – ». Знак отметки может сопровождаться поясняющими надписями. Например: «Ур.ч.п.» – уровень чистого пола; «Ур.з.» – уровень земли.
На строительных чертежах отметки уровней указывают в метрах с тремя десятичными знаками.
На фасадах и разрезах отметки помещают на выносных линиях или линиях контура. В том случае, если несколько знаков уровня располагаются около одного изображения друг над другом, рекомендуется вертикальные линии отметок ориентировать на одной вертикальной прямой, длину горизонтальной полочки – одинаковой длины.
На планах зданий, если это необходимо, отметки наносят в прямоугольнике или на полке линии-выноски.
Квалитет
Квалитет (в русском от нем. Qualität, которое от лат. qualitas — качество) — характеристика точности изготовления изделия (детали), определяющая значения допусков.
Квалитет является мерой точности. С увеличением квалитета допуск увеличивается, а точность понижается.
- Допуск по квалитету обозначается буквами IT с указанием номера квалитета, например IT8 — допуск по 8-му квалитету. Квалитеты с 01 до 4-го используются для изготовления калибров и контркалибров.
- Квалитеты от 5-го до 12-го применяют для изготовления деталей, образующих сопряжения — относительные положения составных частей изделия, характеризуемые соприкосновением их поверхностей или зазором между ними, заданными конструкторской документацией. Примером таких сопряжений могут быть, ГЦС — гладкие цилиндрические соединения).
- Квалитеты от 13-го до 17-го используют для параметров деталей, не образующих сопряжений и не оказывающих определяющего влияния.
Основная закономерность построения допусков размеров (допуск обозначается IT =International tolerance ),IT , мкм =K * i ,
где K — квалитет (число единиц допуска),i — единица допуска, мкм.
На диаметры от 1 до 500 мм единица допуска функционально связана с номинальным размером i=0.45D3+0.001D{\displaystyle i=0.45{\sqrt{D}}+0.001D}, мкм.
Соответствующие значения допуска регламентируются стандартом на допуски и посадки (Limits and Fits) ISO 286-1:2010, а также ГОСТ 25346-89..
Значение допусков для размеров основного отверстия до 500 мм:
| Размер, мм | Допуск, мкм, при квалитете | ||||||||||||||||||
| 01 | 1 | 2 | 3 | 4 | 5 | 6 | 7 | 8 | 9 | 10 | 11 | 12 | 13 | 14 | 15 | 16 | 17 | ||
| До 3 | 0,3 | 0,5 | 0,8 | 1,2 | 2 | 3 | 4 | 6 | 10 | 14 | 25 | 40 | 60 | 100 | 140 | 250 | 400 | 600 | 1000 |
| 3—6 | 0,4 | 0,6 | 1 | 1,5 | 2,5 | 4 | 5 | 8 | 12 | 18 | 30 | 48 | 75 | 120 | 180 | 300 | 480 | 750 | 1200 |
| 6—10 | 0,4 | 0,6 | 1 | 1,5 | 2,5 | 4 | 6 | 9 | 15 | 22 | 36 | 58 | 90 | 150 | 220 | 360 | 580 | 900 | 1500 |
| 10—18 | 0,5 | 0,8 | 1,2 | 2 | 3 | 5 | 8 | 11 | 18 | 27 | 43 | 70 | 110 | 180 | 270 | 430 | 700 | 1100 | 1800 |
| 18—30 | 0,6 | 1 | 1,5 | 2,5 | 4 | 6 | 9 | 12 | 21 | 33 | 52 | 84 | 130 | 210 | 330 | 520 | 840 | 1300 | 2100 |
| 30—50 | 0,6 | 1 | 1,5 | 2,5 | 4 | 7 | 11 | 16 | 25 | 39 | 62 | 100 | 160 | 250 | 390 | 620 | 1000 | 1600 | 2500 |
| 50—80 | 0,8 | 1,5 | 2 | 3 | 5 | 8 | 13 | 19 | 30 | 46 | 74 | 120 | 190 | 300 | 460 | 740 | 1200 | 1900 | 3000 |
| 80—120 | 1 | 1,5 | 2,5 | 4 | 6 | 10 | 15 | 22 | 35 | 54 | 87 | 140 | 220 | 350 | 540 | 870 | 1400 | 2200 | 3500 |
| 120—180 | 1,2 | 2 | 3,5 | 5 | 8 | 12 | 18 | 25 | 40 | 63 | 100 | 160 | 250 | 400 | 630 | 1000 | 1600 | 2500 | 4000 |
| 180—250 | 2 | 3 | 4,5 | 7 | 10 | 14 | 20 | 29 | 46 | 72 | 115 | 185 | 290 | 460 | 720 | 1150 | 1850 | 2900 | 4600 |
| 250—315 | 2,5 | 4 | 6 | 8 | 12 | 16 | 23 | 32 | 52 | 81 | 130 | 210 | 320 | 520 | 810 | 1300 | 2100 | 3200 | 5200 |
| 315—400 | 3 | 5 | 7 | 9 | 13 | 18 | 25 | 36 | 57 | 89 | 140 | 230 | 360 | 570 | 890 | 1400 | 2300 | 3600 | 5700 |
| 400—500 | 4 | 6 | 8 | 10 | 15 | 20 | 27 | 40 | 63 | 97 | 155 | 250 | 400 | 630 | 970 | 1550 | 2500 | 4000 | 6300 |
1.1 Форматы
Чертежи выполняют на листах определенного формата (размера).
Форматы листов определяются размерами внешней рамки чертежа, выполненной тонкой линией.
Согласно ГОСТ 2.301- 68* размеры основных форматов получаются последовательным делением формата А0, с размерами сторон 841х1189 мм, площадь которого равна 1 м2, на две равные части параллельно меньшей стороне (Рисунок 1.1). Число в обозначении показывает, сколько раз совершалось это действие.
Обозначения и размеры основных форматов должны соответствовать указанным в Таблице 1.
Таблица 1 — Основные форматы
Рисунок 1.1. Образование основных форматов
Допускается применение дополнительных форматов, образуемых увеличением сторон основных форматов на величину, кратную их размерам. При этом коэффициент увеличения должен быть целым числом.
Размеры производных форматов, как правило, следует выбирать из Таблицы 2. Обозначение производного формата составляется из обозначения основного формата и его кратности согласно данных в Таблице 2: например, А0х2, А4х8 и т.д.
Таблица 2 — Дополнительные форматы
ГОСТ Р 21.1101-2013 СПДС. Основные требования к проектной и рабочей документации
Данный ГОСТ устанавливает основные требования к проектной и рабочей документации для строительства объектов различного назначения.
Требования к нанесению размеров указаны в разделе 5.4 ГОСТ Р 21.1101-2013.
5.4 Нанесение размеров, уклонов, отметок и надписей
5.4.1 Линейные размеры на чертежах указывают без обозначения единиц длины:
- в метрах с точностью до двух знаков после запятой — на чертежах наружных сетей и коммуникаций, генерального плана и транспорта, за исключением случаев, оговоренных в соответствующих стандартах СПДС;
- в миллиметрах — на всех остальных видах чертежей.
5.4.2 Размерную линию на ее пересечении с выносными линиями, линиями контура или осевыми линиями ограничивают засечками длиной 2-4 мм, наносимыми с наклоном вправо под углом 45° к размерной линии, при этом размерные линии продолжают за крайние выносные линии (или соответственно за контурные или осевые) на 0-3 мм.
При нанесении размера диаметра или радиуса внутри окружности, а также углового размера размерную линию ограничивают стрелками. Стрелки применяют также при нанесении размеров радиусов и внутренних скруглений.
При нанесении размеров на аксонометрических схемах технологических трубопроводов и инженерных систем размерные линии допускается ограничивать стрелками.
5.4.3 Отметки уровней (высоты, глубины) элементов конструкций, оборудования, трубопроводов, воздуховодов и др. от уровня отсчета (условной «нулевой» отметки) указывают в метрах без обозначения единицы длины с тремя десятичными знаками, отделенными от целого числа запятой, за исключением случаев, оговоренных в соответствующих стандартах СПДС.
Отметки уровней на фасадах, разрезах и сечениях помещают на выносных линиях (или на линиях контура) и обозначают знаком ««, выполненным сплошными тонкими линиями с длиной штрихов 2-4 мм под углом 45° к выносной линии или линии контура, в соответствии с рисунком 5; на планах — в прямоугольнике в соответствии с рисунком 6, за исключением случаев, оговоренных в соответствующих стандартах СПДС.
Рисунок 5
Рисунок 6
«Нулевую» отметку, принимаемую, как правило, для поверхности какого-либо элемента конструкций здания или сооружения, расположенного вблизи планировочной поверхности земли, указывают без знака; относительные отметки выше нулевой указывают со знаком «+», ниже нулевой — со знаком «-«.
Примечание — В качестве нулевой отметки для зданий принимают, как правило, уровень чистого пола первого этажа.
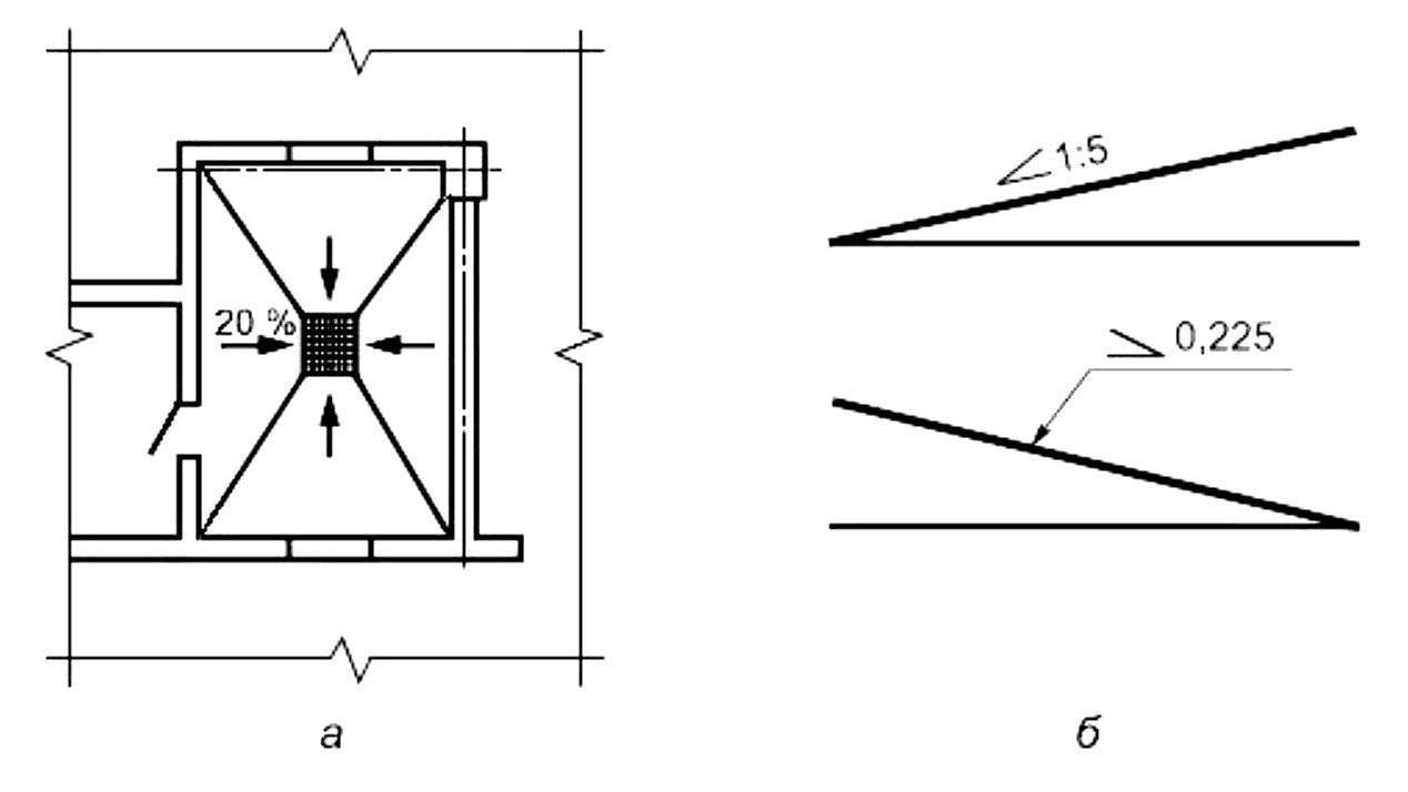
5.4.4 На планах направление уклона плоскостей указывают стрелкой, над которой при необходимости проставляют числовое значение уклона в процентах в соответствии с рисунком 7а или в виде отношения единицы высоты плоскости к соответствующей горизонтальной проекции (например, 1:7).
Рисунок 7
Допускается числовое значение уклона указывать в промилле или в виде десятичной дроби с точностью до третьего знака.
На разрезах, сечениях и схемах перед размерным числом, определяющим числовое значение уклона, наносят знак » «, острый угол которого должен быть направлен в сторону уклона (кроме крутизны откосов насыпей и выемок). Обозначение уклона наносят непосредственно над линией контура или на полке линии-выноски в соответствии с рисунком 7б.
Нанесение размеров в зависимости от конструктивных элементов
В качестве примера рассмотрим нанесение размеров на рис. 10.68. Здесь важнейшим элементом является направляющая с углом 90° и высотой 8 мм. Она задана координатой 50 мм теоретической вершины, шириной 20 мм основания и высотой 50 мм. В этом случае общая высота детали складывается из двух размеров — (50 + 8) мм. Размеры положения двух перемычек шириной 10 мм заданы от теоретических точек пересечения их стенок под углами 80° и 85°, указанных размерами 50, 20 и 10 мм.

Если радиусы скруглений, сгибов и т.п. на всем чертеже одинаковы или какой-либо радиус является преобладающим, то вместо нанесения размеров этих радиусов непосредственно на изображениях рекомендуется в технических требованиях делать запись типа «Радиусы скруглений 4 мм», «Внутренние радиусы сгибов 6 мм», «Неуказанные радиусы 8 мм» и т.п.
Размеры криволинейного контура наносят, как показано на рис. 10.69. Пример применения правил нанесения размеров показан на рис. 10.70.

ОСНОВНЫЕ ПОЛОЖЕНИЯ
1.1. Определенная величина обозначается буквой латинского или греческого алфавита без индексов или с индексами, служащими для уточнения различных характеристик этой величины.
1.2. Прописные и строчные буквы «О, о» латинского алфавита не должны употребляться в обозначениях. Буквы греческого алфавита следует принимать по табл. 1.
1.3. Буквенные обозначения необходимых величин, не приведенных в настоящем стандарте СЭВ, устанавливают по принципу, указанному в табл. 2.
Сила, произведение силы на длину, длина в степени, не равной единице
Прописные латинского алфавита
Длина, отношение длины ко времени в какой-либо степени, отношением усилия к единице длины или площади
Строчные латинского алфавита
Строчные греческого алфавита
1.4. Индексы подразделяются на цифровые и буквенные. Буквенные дополнительно подразделяются на одно-, двух- и трехбуквенные. Для обозначения цифровых индексов используются арабские цифры, а для обозначения буквенных индексов — буквы латинского алфавита.
1.5. Цифровые индексы применяются для выражения порядкового номера данного обозначения.
1.6. Однобуквенные индексы применяются для обозначения осей координат, расположения, вида материала, напряженного состояния, действующей нагрузки и других характеристик.
1.7. Двухбуквенные и трехбуквенные индексы применяются в том случае, когда использование однобуквенных индексов может привести к неясностям. Они отделяются от однобуквенных индексов запятыми.
1.8. Индексы располагаются с правой стороны букв внизу. При печатании на пишущей машинке букву и индекс допускается печатать на одной строчке.
1.9. Если в настоящем стандарте отсутствует необходимый индекс, его следует устанавливать из строчных букв латинского алфавита.
1.10. Обозначение, выражающее геометрическую величину, допускается дополнять вертикальным штрихом справа, если необходимо обозначить, что имеется ввиду сжатая часть сечения или элемента.
Главные положения общепринятого стандарта
Нанесение размеров (дальше по тексту сокращения) на чертежах нужно для того, чтобы у читающего чертеж была возможность правильно понять габариты детали и ее составляющие
Важно давать реальные параметры и не обращать внимания на масштаб и детальность выполнения изображения
Цель любого чертежника — нанести размеры таким образом, чтобы процесс производства деталей по ним обходился без подсчетов и вычислений.
Наносить необходимо минимум размеров, но достаточное количество для того, чтобы изготовить и проконтролировать изделие.
Если какого-либо одного размера нет, чертеж становится довольно проблематично использовать. Р-ы, отображенные на чертеже, должны быть четкими и понятными.
Эти и прочие требования регулирует ГОСТ 2.307-2011. Основные из них:
линейные р-ы обозначаются мм, но на ч-же это не указывается;
для угловых р-в используют такие единицы как градус, секунда, минута — здесь уже их нужно прописывать;
основ-я надпись содержит только одно указание на р-р;
размерные прямолинейные отрезки обозначают при помощи размерных линий (РЛ), проводимых параллельно отрезкам
Расстояние от контурной линии — 10 мм, расстояние между отрезками и линиями — 7 мм;
линии выносные располагаются по отношению к размерным перпендикулярно;
от 1 до 5 мм — на такое расстояние выступают выносные линии за окончания стрелок РЛ;
что касается стрелки размерной линии, то в длину она должна быть 2,5 мм, а градус угла при вершине — 20;
важно следить, чтобы форма и параметры всех стрелок чертежа были идентичными.
Габаритные размеры
Габаритные размеры – размеры, определяющие предельные внешние/внутренние очертания детали. Для особо важных размеров указываются предельные отклонения. Не указывают предельные отклонения размеров:
деталей единичного производства, задаваемых с припуском на пригонку определяющих зоны различной шероховатости одной и той же поверхности, зоны термообработки, покрытия, отделки, накатки и т.п. На таких чертежах в непосредственной близости от указанных размеров наносят знак *, а технических требованиях указывают: «*Размер с припуском на пригонку по детали…», «*Размер с припуском на пригонку по черт. …», «Размер с припуском на пригонку по сопрягаемой детали…»
Правила простановки допусков
В паре сопрягающихся деталях различают поверхности: охватывающую (отверстие) и охватываемую (вал).

Существует условное деление по вариантам соединений. При гладком цилиндрическом охватывающие детали сопряжения круглые и имеют форму цилиндра. Другой вид: плоское с параллельными плоскостями. Здесь соединительные элементы расположены в параллельных по отношению друг к другу плоскостях. В первом случае под размером подразумевается диаметр, во второй вариации за размер берётся расстояние между параллельными поверхностями.
Действительный размер после измерения может иметь допустимую погрешность и должен находиться в интервале между максимальным и минимальным размерами, которые являются двумя предельными значениями.
При разработке следует помнить, что неизменно имеется погрешность в точности изготовления. Существующее небольшое отклонение составляет разность между самим размером в действительности и его номинальным значением.
Бывает верхнее и нижнее предельные отклонения. Разность между наибольшим и наименьшим пределами считается допуском.

В зависимости от простановки допусков соединения деталей бывают трёх типов:
- с зазорами;
- с натягами;
- переходные.
Посадка сопрягаемых деталей с зазором позволяет более свободное относительное перемещение, натяг ограничивает эту свободу. В случае когда посадка рассчитана с зазором, размер охватывающего элемента, а именно отверстия больше охватываемого, то есть вала, и наоборот: при натяге количественные параметры вала преобладают над аналогичными в отверстиях. Переходные посадки предполагают получение как натягов, так и зазоров.
Поля допусков основных отверстий и валов обозначают буквами А и В с числовым индексом класса точности. Обозначения других полей устанавливают в стандартах на допуски и посадки и прописаны в сводных таблицах.
При невыполнимости контроля допусков используются справочные размеры. Они помечаются звёздочкой, а в технических требованиях указывается ссылка на то, что размер приведён для справок. К ним относятся:
- величины деталей из листового материала и определяемые толщиной исходного листа;
- один из размеров замкнутой размерной цепи;
- данные с изделий-заготовок;
- размеры на сборочном чертеже и др.
Отклонения размеров нужно вписывать после номинальных величин. Если не требуется особая точность изготовления, то для упрощения допуски можно не указывать на поле чертежа, достаточно сделать запись в технических требованиях чертежа с указанием квалитета: неуказанные предельные отклонения размеров: Н 14, h 14.
Как правильно определить размеры мебели
Вы решили приобрести тумбу размером 600х400х500? Что обозначает первый, второй и третий габаритные размеры? Как определить размер кровати из сосны, кровати металлической односпальной правильно? Габариты мебели бывают разными. Иногда можно встретить обозначения без маркировки (ШГВ). Как же правильно указывать габариты мебели ?
Основные габариты мебели
Ширина х Глубина х Высота (Ш х Г х В)
Обозначение габаритов мебели без лицевой стороны Длина-Ширина-Высота
(Столы, сундуки для лежания, металлические кровати, кровати из сосны) L-B-H, L – это длина (ГОСТ 13025.3 п 2), В – это ширина , Н – высота либо Д х Ш х В
Габариты мебели с определенной лицевой стороной L х B х H Ширина-Глубина-Высота
(Столы, шкафы , диваны для сидения, кресла, стулья, настенные полки) L – это ширина, В – это глубина (ГОСТ 13025.3 п. 3.1), Н – высота
Габариты мебели для лежания с неопределённой (множественной) лицевой стороной Д х Ш х В Длина-Ширина-Высота.
Кровать из сосны, диван-кровать, лавка, сундук для лежания и изделия, стол обеденный, стол заседаний и подобное: Д х Ш х В (Длина-ширина-высота) .
Системы простановки размеров
Прежде чем приступать к простановке размеров, выбирают на детали поверхности, от которых проставляют размеры. Существует три системы простановки размеров:
а) от конструкторских баз, т.е. от поверхностей, линий и точек, определяющих положение детали в собранном механизме;
б) от технологических баз, т.е. от поверхностей, определяющих положение детали при обработке;
в) комбинированная — характеризуется тем, что одна часть размеров проставляется от конструкторских баз, а другая — от технологических.
Наиболее целесообразна комбинированная система, которая предусматривает простановку небольшого количества размеров (10—20% от всех размеров) от конструкторских баз. Эти размеры влияют на качество работы детали и машины в целом (эти размеры должны выполняться с большой точностью). Большая часть размеров проставляется от технологических баз, обеспечивая требования производства — простоту изготовления и измерения детали.
Основные требования к простановке размеров следующие:
а) размеры должны быть проставлены так, чтобы по ним можно было разметить детали перед обработкой, легко обработать и измерить во время обработки и после обработки. Простановка размеров должна отвечать требованиям наиболее рациональной технологии обработки и контроля детали;
б) размеры должны быть проставлены так, чтобы рабочий не занимался подсчетом недостающих размеров.
Основные общие правила нанесения размеров на отдельные элементы деталей рассмотрены в гл. 2. Ниже будет рассмотрено нанесение размеров на изделие.
Нанесение размеров
Указанное значение обязано точно соответствовать истинной величине объекта вне зависимости от выбранного масштаба.

Схема нанесения размеров
Размерные линии следует размещать снаружи контура детали. На элементах контура нанесение значений запрещено. Большие величины наносят дальше, меньшие — ближе. Это делают для того, чтобы избежать пересечений размерные и выносные линии. На концах размерной линии изображают стрелки, упирающиеся в выносные. Численные значения размещают над линией возле ее середины. Расстояние между размерными линиями — от 7 миллиметров.
Размерные линии положено размещать без пресечений с другими элементами чертежа. Осевые, центровые и штриховочные линии при пересечении с размерной следует прервать.
Нанесение размеров конкретного элемента конструкции рекомендуется проводить, группируя их рядом с ним.
При изображении дуги на чертеже показывают ее радиус (цифры предваряются литерой R), для окружности — ее диаметр (обозначается знаком >)
При нанесении фаски под углом 45° используют единое обозначение величины и угла, например 5×45°. Для фасок с другими углами предусмотрено отдельное указание линейного размера и угла

Сфера 50 на чертеже
Стандартные размеры кухонной мебели
Размеры кухонной мебели можно посмотреть на нижеприведенном рисунке.
Высоту рабочей поверхности разрабатывают высотой 850 мм. Глубину нижних кухонных шкафов логичнее выбрать в соответствии с размерами газовой или электрической плиты, если вы не планируете варочную панель. Стандартные размеры плит 500×500 или 600×600 мм. Глубину навесных шкафов и полок выбирайте размером 300 мм. Этот размер можно и уменьшить, но с учетом посуды и инвентаря.
Отделения для одежды и белья во встроенных шкафах будут оптимальными, если продумывать их под определенные вещи сразу. Но справочно, они приведены на следующем рисунке.
Размеры бельевых полок можно подсмотреть и на рисунке ниже, где в скобках указаны размеры для хранения постельного белья.
Расстояние же между самими полками должно быть в районе 200-400 мм. Если предполагается хранить головные уборы, полка под них должна быть глубиной не менее 240 мм, а высотой 170 мм.
Проектировать мебель необходимо и с учетом размеров и конфигурации самого помещения, учитывайте размеры проходов между изделиями, предусматривая различные группировки мебели.
Вспомогательные знаки
Зачастую для упрощения нанесения размеров используются вспомогательные знаки. Например, деталь может иметь резьбовые или сквозные отверстия, зенковку, технологические уклоны, фаски, скругления и прочие элементы.
Детали с технологическими уклонами имеют конусность . Определить её можно, если взять отношение диаметра основания конуса к его высоте. ГОСТ 2 .307−68 нормирует обозначение конусности на чертежах и порядок его простановки.
При простановке размеров квадратных элементов деталей перед числовым значением ставится значок квадрата. Пример наглядно показан на рисунке.

Симметричные части деталей, например, шестигранники, изображаются до оси симметрии либо показываются не до конца, а чертёж заканчивается обрывистой линией, причём размерную линию следует перерывать после оси симметрии или линии обрыва.
Для деталей, имеющих скошенный или закруглённый конец, на чертежах принято указывать фаску или скругление. Они нужны как для придания эстетичности изделию или детали, так и для некоторых функциональных решений, например, для облегчения сборки механизмов, то есть делают их более технологичными.

Обозначение фаски на чертежах можно выполнить различными способами в зависимости от масштаба, а также углов скоса и их количества. Важнейший критерий — это удобство чтения. При изготовлении не должно возникать излишних вопросов и сомнений. На чертеже обязательно ставятся два значения: величина угла относительно оси детали и ширина скоса. Наиболее часто встречающиеся фаски располагаются под углом 45°. Зачастую фаски обозначаются двумя линейными размерами, каждый из них имеет отметку о величине среза в различных плоскостях.
В некоторых случаях элементы с равными размерами указаны цифрами (1, 2…9 и т. д. ) в технических требованиях к чертежу, тогда на поле самого чертежа можно проставлять только номер этой ссылки. Такая простановка избавляет от проставления размера каждый раз.
Требования к выполнению детальных чертежей печатных плат
Обозначение чертежей
Все детальные чертежи однослойных, двухслойных и многослойных печатных плат в обозначении чертежа должны иметь наименование «Плата печатная».
Нанесение размеров
Все необходимые размеры на чертежах должны быть нанесены в соответствие с ГОСТ 2.307.
Допускаются следующие способы указания размеров конструктивных элементов печатных плат:
- с помощью сеток координат — полярной или прямоугольной;
- совмещение координатной сетки и выносных размеров;
- табличным способом с указанием координат элементов проводящего рисунка (монтажных и переходных отверстий, пазов, контактных площадок, проводников).
Координатная сетка на детальных чертежах печатных плат
Линии координатных сеток должны быть пронумерованы. Шаг координатной сетки в каждом конкретном случае выполнения детального чертежа печатной платы следует выбирать в зависимости от насыщенности проводящего рисунка.
Согласно ГОСТ он может выражаться как количеством линий координатной сетки, так и в миллиметрах.
Шаг координатной сетки, выполненной в прямоугольной системе координат должен соответствовать ГОСТ 10317.
Исходя из особенностей разрабатываемой конструкторской документации допускаются следующие способы нанесения координатных сеток:
- на все поле детального чертежа;
- на печатную плату или отдельные её элементы;
- нанесение рисок координатной сетки по контуру печатной платы;
- нанесение рисок координатной сетки на некотором расстоянии от контура печатной платы.
Начало отсчёта прямоугольной системы координат
За начало отсчета в прямоугольной системе координат при выполнении детальных чертежей печатных плат обычно выбирают характерные нижние левые или правые элементы конструкции:
- границы контура печатной платы;
- центр крайнего отверстия;
- точки, образованные пересечением линий построения.
Обозначение и размеры контактных площадок
На детальных чертежах печатных плат контактные площадки со сквозными отверстиями изображают одной окружностью. Это же касается и отверстий с зенковкой.
Чтобы контактные площадки и отверстия близкие по размеру, были отличны друг от друга – каждое из соответствующих отверстий следует указывать условным обозначением (согласно ГОСТ 2.307).
Соответствующую сводную информацию об условных обозначениях отверстий на детальных чертежах печатных плат заносят в таблицу, где указывают:
- условное обозначение отверстий;
- форму контактной площадки;
- диаметр отверстия;
- размеры контактной площадки;
- наличие металлизации в отверстии;
- количество отверстий.
Другие требования
На изображении печатной платы детального чертежа допускается наносить информацию, которая физически может отсутствовать на самом изделии. В этом случае, в технических требованиях детального чертежа должна быть сделана соответствующая запись. Если координатная сетка мешает нанесению записи, допускается в этом месте её не наносить.
На чертеже может отсутствовать часть информации об отдельных элементах печатной платы. В этом случае в технических требованиях должна присутствовать ссылка на документ, содержащий необходимую информацию.
Общие правила нанесения размеров.
Процесс нанесения размеров складывается из двух этапов: проведение выносных и размерных линий и написание размерных чисел (рис. 29).

- Границы измерения размера указывают выносными и размерными линиями, линиями-выносками. Линии наносят с помощью тонких сплошных линий.
- Выносную линию наносят перпендикулярно отрезку контура изображения, размер которого измеряют (А).
- Размерную линию проводят параллельно отрезку, размер которого определяют (Б
- Размерная линия с обеих сторон ограничена стрелками (В) (рис. 30).
- Если длина размерной линии небольшая и стрелки не помещаются между выносными линиями, их наносят с внешней стороны от выносных линий (Г).
- Выносная линия должна выходить за стрелку на 1,5—2 мм (Д).
- Минимальное расстояние между размерной линией и измеряемым отрезком — 10 мм, между параллельными размерными линиями — 7 мм (Е).
- Размерные числа наносят над размерной линией ближе к середине, на расстоянии 0,5—1 мм от нее. Размер шрифта для размерного числа 5 (Ж).
- Если на чертеже несколько параллельных размерных линий, то размерные числа наносят в шахматном порядке (З).
- При изображении детали в одной проекции указывают ее толщину (И).
- Величину диаметра окружности показывают размерной линией, проведенной через центр окружности. Стрелки размерной линии упираются в окружность с внутренней или наружной стороны (К). Размеры повторяющихся одинаковых окружностей наносят один раз с указанием их количества. Например, «Ø10 2 отв.» означает: 2 отверстия диаметром 10 мм.
- Каждый предмет имеет габаритные (наибольшие) размеры — длину, высоту и ширину (толщину). Габаритные размеры всегда больше других, поэтому на чертеже их располагают дальше от изображения, чем остальные (Л).
Помните!
Что нужно помнить в итоге
Чертеж конструктор выполняет в определенном масштабе, но числовое обозначение размеров в нём, должно быть перенесено по факту с действительными значениями.
При этом шрифт необходимо использовать одинаковый, а цифры ставить над серединой черты. Проставленные цифровые размеры нельзя делить, пересекать другими чертежными знаками.
Указание предельного отклонения следует делать после постановки номинального. Допускается нанесение справочных параметров с наличием специального знака и письменного уведомления, что сделана подобная запись.
В этом видео вы узнаете о простановке размеров в AutoCAD:





















![§ 5. основные сведения о размерах [1988 вышнепольский и.с. - техническое черчение с элементами программированного обучения (учебник для средних и проффессионально-технических училищ.)]](https://labequip.ru/wp-content/uploads/8/b/6/8b6ee47f1d47c8518b1038f559e440ab.jpeg)













