Необходимые инструменты и материалы
Для изготовления мотоблока-самоделки необходимо проверить, есть ли в арсенале такие инструменты как:
- болгарка;
- электродрель;
- сварочный аппарат;
- слесарный набор инструментов плюс расходники (гайки, болты);
- инструменты для разметки (угольник, рулетка).

Сборка самоделки исключает токарные работы, но сварки, как минимум, при создании рамы не избежать. Перечень материалов более «сложен». Потребуются:
- мотор, редуктор, бак от «Дружбы»;
- от мотоцикла (мопеда) – рулевой механизм (можно не брать готовый, а сделать самому из труб), колеса;
- элементы трансмиссии авто либо мотоцикла (мопеда) – воротниковый фланец ВАЗа, передаточный вал усилий от «движка» (для более «продвинутых» самоделок);
- трубы из стали (до 20 мм), уголки для рамы;
- железный листы для укрепления и защиты агрегата.
В вопросе о том, как сделать мотоблок из бензопилы, помимо нахождения инструментов и материалов, важно наличие чертежей (можно воспользоваться готовыми, а можно, при наличии должных навыков, создать самостоятельно), поскольку при неправильной сборке мотоблок-самоделка не удастся. Для понимания принципа работы мотоблока будет не лишним ознакомиться с конструкциями заводских моделей
Выгода изделия
Выгода самодельного мотоблока из «Дружбы» состоит в том, что приобрести устройство в заводском исполнении довольно дорогое удовольствие. Имея небольшой участок или используя мотоблок нечасто, приобретать его не всегда целесообразно. А собрать в целом продуктивное самодельное устройство можно из того, что завалялось дома.
Детали при желании можно собрать абсолютно бесплатно. И их не жалко будет испортить при неблагоприятном стечении обстоятельств. Сам же двигатель от бензопилы довольно экономичен и не прихотлив. Можно использовать недорогие горюче-смазочные материалы, что тоже сказывается на общей выгоде.
Мотоблок — не единственное, что можно сделать из бензопилы «Дружбы», с использованием данного инструмента можно сделать много других полезных устройств, о том, как и что для этого нужно, читайте в статье по этой ссылке.
Обзор модельного ряда первых советских бензиновых пил “Дружба”
Первые цепные пилы “Дружба” не отличались особой эргономичностью и безопасностью, однако были востребованными и пользовались спросом не только на территории Советского Союза. У них не было цепного тормоза, виброгасящей системы, смазки цепи. Все что у них было — большой вес (более 13 кг) и высокая мощность. Эти мотопилы эксплуатировались на лесоповалах, так как основным их назначением было и остается валка деревьев и резка бревен разной толщины. Итак, Советский МашПром выпустил следующие модификации цепных пил “Дружба”:
- Бензопила “Дружба 2”.
- Цепная бензопила “Дружба 4”.
- “Дружба 4-А”, цепная мотопила.
- Модернизированная пила «Дружба-4А-Электрон».
- Бензопила “Дружба 4М Электрон”.
- “Дружба-5Э”, бензопила.
- “Дружба-Алтай” цепная бензопила.
- Бензиномоторная пила “Дружба 60”.
Рассмотрим подробнее каждую модификацию этих легендарных пил:
Бензопила “Дружба 2”
Эта цепная пила получила прочный алюминиевый корпус и оборудована двухтактным одноцилиндровым двигателем внутреннего сгорания мощностью 2200 Вт, или 2,99 лошадиных сил. Запуск бензопилы ручной, от пускового тросика. Массивные рукоятки крепятся к вентилятору, виброгасящие демпферы, смазка цепи и тормозная система еще отсутствуют. Остановить бензопилу можно было лишь одним способом — перекрыв подачу топлива в двигатель. Длина пильной шины достигала 45 см. Массивный внешний вид и солидный вес бензопилы (12,5 кг), а также недоработки, касающиеся безопасности были стимулом к новым разработкам.
Бензопила ДРУЖБА 2
Технические характеристики бензопилы “Дружба 2”:
| Параметры и характеристики | «Дружба-2» |
| Мощность устройства | 2,2 кВт |
| Показатели частоты вращения | 3200 об/мин |
| Наличие автоматической цепной смазки | Отсутствует |
| Наличие электронного зажигания | Отсутствует |
| Объём бака смазочной системы | 240 мл |
| Длина шины | 45 см |
| Вес агрегата | 12,5 кг |
| Габаритные размеры | 46х50х86,5 см |
Цепная бензопила “Дружба 4”
Изменения коснулись внешнего вида пилы, теперь рукоятки крепятся не к вентилятору, а к хомуту, объединяющему редуктор и двигатель. Масса бензопилы осталась прежней — 12,5 кг. Увеличилась мощность двухтактного ДВС до 4-х лошадиных сил. На фото показана эта модель, мы видим два независимых узла, объединенных вместе хомутом: мотор и пильный агрегат. Шина длиной 45 см. Модель универсальная, выполнить ремонт можно было даже в полевых условиях.
Цепная бензопила “Дружба 4”
Характеристики двигателя:
- марка и модель: МП-1 (одноцилиндровый, карбюраторный, двухтактный, воздушное охлаждение);
- рабочий объем: 94 куб. см.;
- мощность: 4 л.с. (2,94 кВт.);
- максимальные обороты коленвала: 5200 об/мин;
- система смазки: бензин с маслом;
- система соединения с пильной гарнитурой: фланцевое соединение фиксируемое хомутом.
“Дружба 4-А”, цепная мотопила
В конструкцию были внесены изменения — встроена система подачи смазки на пильную цепь, что продлило ресурс гарнитуры. Производитель усилил подшипник коленвала, снабдил бензопилу “Дружба 4А” аварийным тормозом, срабатывающим при обрыве цепи. Еще две инновации: контактное магнето и улучшенный карбюратор КМП-100.
Дружба модель 4А
Модернизированная пила «Дружба-4А-Электрон»
Мощность бензопилы осталась неизменной — 4 л. с., модернизация коснулась системы зажигания — впервые цепная пила была оборудована зажиганием электронного типа. Маслонасос, тормоз цепи и карбюратор остались неизменными. Пильная шина 45 см.
Ходовая часть
К дизельному мотоблоку с ходоуменьшителем, произведённому собственноручно лучше всего подходят пневмоколеса диаметром до 10 дюймов, взятые от списанных сельхозмашин, мотоколясок. Иногда берут от легковых авто, если нужно повысить проходимость самодельной техники. А при эксплуатации мотоблока на тяжёлых почвах их заменяют железными (как они проявляют себя в деле, можно посмотреть на видео). Но выбор колес остается за вами, ориентируйтесь на типа работ, которые вы будете проводить.
При создании самодельного мотокультиватора вместо колёс устанавливают почвофрезу для возможности вскапывания и рыхления грунта. Благодаря использованию такого почвоулучшителя, не происходит утрамбовка грунта, по которому недавно прошёл мотокультиватор.

Рис.3. Ходовая часть культиватора
1 и 2- колёса; 3 – шестерня; 4 – вал ведущий; 5 – редуктор; 6 – шестерня ведущая; 7 – втулка; 8 – винт стопорный; 9 – корпус ведущего вала; 10 – фланец букса; 11 – гайка и болт М-8; 12 – втулка шлицевая; 13 – вал; 14 – гайки М-14; 15 – шайба; 16 – сальник; 17 и 18 — ступичные подшипники; 19 – мотор.
В изготовлении оси культиватора самоделки рекомендуют пользоваться монолитным куском стали. Сварная труба не сгодится, так как она может не выдержать нагрузки.
Самостоятельное изготовление мотоблока из бензопилы Урал
Порядок сборки мотоблока с двигателем от Урала ничем не отличается от инструкции, представленной выше. Различия могут возникнуть из-за особенностей выбранного чертежа, но в основном они незначительны
После сборки обязательно протестируйте оборудование, делая это с максимальной осторожностью. Не забывайте устанавливать утяжелитель в передней части мотоблока, надежно фиксируя его на корпусе
Если деталь закрепить ненадежно, во время работы мотокультиватор начнет вибрировать, что приведет к повреждению двигателя.
Желательно собирать конструкцию под присмотром опытного специалиста, хорошо разбирающегося в технике. Собирать самодельную технику впервые, без опыта в данной сфере, чревато непредсказуемыми последствиями. В лучшем случае вы просто угробите пилу, а в худшем – пострадает ваше здоровье. Помните, что соблюдение техники безопасности и внимательность при выполнении всех этапов сборки – залог стабильной работы устройства. По возможности приобретите нормальный мотоблок, а самодельный аппарат используйте в крайних случаях.
Особенности
Прежде чем приступать к производству мотокультиватора, следует определиться с тем, какой тип сельскохозяйственного агрегата вы будете конструировать: с электрическим двигателем или с мотором внутреннего сгорания
Важно помнить тот факт, что мотокультиватор с электрическим мотором будет эффективен только в том случае, если на участке, который планируется обрабатывать, имеется система энергообеспечения. Напротив, устройство, имеющее в своем составе двигатель внутреннего сгорания, можно использовать в полевых условиях, так как оно работает на топливе, а именно, на бензине


Еще один важный нюанс – метод обработки почвы. Существую культиваторы, которые имеют колеса с приводом, а также те агрегаты, которые оборудованы навесным инструментарием (последние могут служить не только как мотоблоки, но и как средства передвижения).
Какие элементы необходимы для сборки?
Если вы решили конструировать мотоблок самостоятельно, то вам необходимо подготовить следующий набор составных элементов:
- мотор или двигатель внутреннего сгорания;
- редуктор – он способен снижать обороты и увеличивать усилия на рабочем валу;
- рама, на которой крепится оборудование;
- рукоятки для управления.




Именно эти детали являются основными — без их наличия невозможно в домашних условиях изготовить машину для сельскохозяйственной обработки земли. Поэтому перед началом изготовительного процесса убедитесь в наличии каждого из описанных выше элементов.
Что нужно, чтобы сделать мопед из бензопилы и велика?
В большинстве своем, преобразование велосипеда в мопед своими руками путем прикрепления к нему мотора от бензопилы не требует особенных навыков слесаря или инженера. Если вы новичок в этом деле, то вам помогут многочисленные чертежи мопеда из бензопилы, а также обучающие видео обзоры. Также, не у каждого мужчины в гараже найдется все необходимое для того, чтобы сделать своими руками мотовелосипед из бензопилы. Поэтому перед сборкой рекомендуется изучить список нужных деталей, крепежей и запчастей и купить недостающие элементы.
В магазинах специальных товаров вы можете найти целые комплекты, в состав которых входит уже готовый к установке двигатель, крепежи и другие детали, которые необходимы для трансформации велосипеда в мопед. Данный набор существенно облегчит процесс сборки мотоцикла, поскольку отпадает необходимость подбирать двигатель, подходящей мощности, крепежи, аккумулятор, передаточный ремень, трос и т.д.
Инструкция по сборке и чертежи самодельного мопеда
Во-первых, мы сперва разберем наиболее простой и доступный вариант того, как сделать мопед из бензопилы с фотографии выше. При сборке часто возникает вопрос, как поставить мотор от бензопилы на велосипед
Важно, чтобы он был надежно прикреплен и не двигался во время езды. Для данного вида самодельного мотоцикла нужно закрепить хомутами следующие детали на определенных местах:
- аккумулятор устанавливается на верхней трубе;
- сам веломотор из бензопилы крепится на пересечении нижней передней и подседельной труб;
- бак для заправки топливом — около двигателя.
Следующим шагом переделки будет создание и установка шкивов на велосипед. Они нужны для того, чтобы работа двигателя провоцировала вращение заднего колеса. Как правило, для шкивов используют колеса с внешним барьером, размер которых примерно как компакт-диски.
При подборе колесиков берите во внимание прочность и надежность как самого материала, так и креплений. Для установки шкивов переднее колесо крепится к валу мотора, а второй шкив — на втулку заднего колеса. Далее вам нужно надеть ремень на шкивы
Иногда вместо ремня мужчины используют цепь. В этом случае шкивы заменяются цепью, а принцип ее установки никак не отличается
Далее вам нужно надеть ремень на шкивы. Иногда вместо ремня мужчины используют цепь. В этом случае шкивы заменяются цепью, а принцип ее установки никак не отличается.
Если же говорить о более сложном варианте, то в результате вы получите самодельный транспорт, наиболее похожий на настоящий мотоцикл. Основные отличия от предыдущей конструкции заключаются в более надежной и прочной раме, более широких колесах, которые можно снять со старого мопеда, наличии амортизации и установке движка с бензопилы.
Какие самоделки из бензопилы можно сделать?
Бензопила — очень удобный инструмент для изготовления самоделок. Приспособив её на специальную платформу с колесами, и соединив цепь с валом, на котором будут установлены ножи, можно получить мощную газонокосилку. Кстати, чтобы долго не заморачиваться, на вал можно установить звёздочку от заднего колеса велосипеда.
Кроме того, из бензопилы можно сделать отличную пилораму, поскольку переделывание данного инструмента, в этом случае, также сводится к минимуму.
Вообще, все самоделки из бензопилы, можно разделить на две большие группы:
- В первую группу попадают те самоделки, при изготовлении которых практически нет нужды разбирать и модернизировать бензопилу;
- Ко второй группе самоделок, относится всевозможная техника: снегоуборочные машины, мопеды, аэросани, квадроциклы и т. д. Другими словами говоря, сложные механические устройства, для изготовления которых придется кардинально разобрать бензопилу, сделать водяную или воздушную систему охлаждения, в общем, полностью изменить этот бензиновый инструмент.
Рассмотрим, что можно сделать из бензопилы, что обязательно пригодится в домашнем хозяйстве.
Так, например, на основе бензопилы «Дружба» можно сделать следующие самоделки:
- Мощный лодочный двигатель;
- Бензиновую болгарку;
- Пилораму;
- Мотокультиватор;
- Газонокосилку.
Если дело касается автомобильных самоделок, то из практически любой бензопилы, можно сделать:
- Мопед, если установить бензопилу на велосипед;
- Снегоход и аэросани;
- Снегоуборщик;
- Квадроцикл;
- Самокат.
Конечно же, вторая группа самоделок из бензопилы, требует основательного подхода и полного изучение конструкции.
Также, потребуется докупить все необходимые материалы, а в некоторых случаях, не обойтись и без сварочного аппарата.
Пилорама из бензопилы
Наиболее простой в изготовлении, является самодельная пилорама из бензопилы Урал, Тайга или Дружба. Суть работы самодельной пилорамы заключается в том, что имеется одна большая направляющая, по которой на подвижных салазках, взад и вперёд, двигается бензопила.
В качестве направляющей, можно использовать рельсу или несколько длинных, но ровных металлических уголков. Платформа, на которую впоследствии будет закреплена бензопила, изготавливается из куска толстой стали, толщина которой должна быть не менее 5 мм.
Особого внимания заслуживает подвижная часть пилорамы, та, посредством которой платформа и осуществляет свое движение вдоль направляющей. В качестве роликов, здесь можно использовать металлическую трубу с прорезиненной поверхностью
Очень важно, чтобы ширина подвижной части совпадала бы с шириной направляющей
Как видно на фото, бревно, расположенное рядом с пилорамой, довольно легко разрезается на несколько частей, посредством движущейся по направляющей бензопилы. Таким образом, можно прилично сэкономить на покупке пилорамы, при этом, как видно, бензопилу практически не нужно каким-то образом переделывать, разбирать и т. д.
Мотоблок из бензопилы
Как было сказано выше, из бензопилы можно сделать различные самоделки для дома и дачи. Одними из таких самоделок, являются косилка и мотоблок. С косилкой из бензопилы дела обстоят не так сложно, как с мотоблоком, для изготовления которого придется варить металлическую раму, после чего, приспосабливать к ней два колеса сбоку.
Принцип изготовления мотоблока из бензопилы заключается в использовании нескольких звёздочек, которые могли бы передавать крутящееся усилие ножам. Для этих целей звёздочки располагаются по бокам металлического вала, на котором приварены несколько ножей.
Самодельный мотоблок из бензопилы Урал или Дружба, станет настоящим помощником для тех, кто имеет достаточно большой по площади огород. Может такой мотоблок и не будет отличаться большой мощностью, однако его вполне хватит для того, чтобы решить основную задачу по обработке земли.
С чего необходимо начать?
Если у вас участок совсем небольших размеров, для вас неоправданно покупать дорогостоящий мотоблок. К тому же такая техника требует тщательного ухода, покупки дополнительных смазочных жидкостей, горючего и деталей. Если у вас есть бензопила, вы с легкостью сможете ее модернизировать.
Бензопила имеет компактные размеры, небольшую массу, но при этом достаточно большую мощность. Именно поэтому она может выступать универсальным приводом, чтобы создать мотоблок для обработки земли.
Весь этап переделывания бензопилы в мотоблок проходит в несколько этапов:
- создание чертежа. Без этого вы не сможете сделать действительно качественную технику. На схеме у вас должны быть обозначены все детали, места их крепления, а также четко просчитаны размеры;
- изготовление рамы. Она должна быть из куба с углами 32 на 32 миллиметра;
- мотор крепится на поперечные верхние каркасные углы, а бак для горючего с помощью кронштейнов монтируется немного ниже;
- впереди также нужны вертикальные стойки, необходимые для промежуточных опор вала. Для монтажа подшипников нужно установить специальные опоры к продольным углам.
Как сделать мотоблок из бензопилы
Мотоблок отличается от мультикультиватора, из первого может получиться мини-трактор. Если мотокультиваторы подходят только для рыхления почвы, то усовершенствованные мотоблоки заменяют даже транспортные средства при перевозке различного груза (сена, бревен, корма для скота и т.д.).

Рассмотрим, как изготовить мотоблок своими руками из бензопилы. Для этого нужно потратить время на изучение схемы данной техники и приобретение всех необходимых запчастей. Имея чертежи самодельной рамы, можно собрать очень мощную технику. При сборке агрегата используются запчасти от скутера, автомобилей, бензопилы Дружба, мотоцикла Урал и пр. При изготовлении понадобятся слесарные навыки, поскольку вся работа производится вручную.

Конструкция самодельного агрегата выглядит примерно так: мотор — промежуточный вал — колесо. Самодельный мотоблок из бензопилы держится на раме, к которой крепят двигатель и редуктор. Бак для горючего устанавливают на кронштейне. Весь упор агрегата приходится на колеса. В задней части механизма устанавливается рабочее орудие.
Полезные рекомендации
Как показывает опыт мастеров, очень важным является надежность и прочность всех соединений и креплений. Поскольку снегоуборщик из бензопилы подвергается при работе определенным вибрациям, наиболее целесообразно устанавливать контргайки, все крепления делать шайбами гравера. Во избежание раскручивания, на шнеке выступающие части от болтов обрезают и заклепывают.
Некоторые владельцы работают без чертежей, но в большинстве рекомендаций все же высказывается необходимость предварительных расчетов, соблюдения определенных проверенных размеров и пропорций, иначе конструкция снегоуборщика из бензопилы может оказаться после сборки неработоспособной.
Преимущества самодельного снегоуборщика из бензопилы
- При создании снегоуборщика из бензопилы своими руками основным выигрышем, конечно, является стоимость снегоуборочной машины. Даже, если пришлось покупать мотор от пилы специально, экономия будет немалой.
- Другим положительным моментом является функциональность, ничуть не уступающая готовым образцам техники. Некоторые умельцы создают агрегаты, даже превосходящие по техническим параметрам заводские модели.
- Все необходимые детали и комплектующие можно гарантированно найти в гараже среди всяких металлических отходов и остатков, которыми никто не пользуется.
Недостатки самодельного снегоуборщика
- Собранная модель является несамоходной машиной, для уборки больших территорий от снега ручное перемещение агрегата может быть затруднительным.
- По сравнению с заводскими вариантами снегоуборочных машин, самоделка отличается меньшими техническими возможностями, ограниченным моторесурсом. Если оснастить оборудование новым двигателем, работать агрегат будет дольше и надежнее, но экономия, в таком случае, будет меньше.
Что нужно для того, чтобы смастерить мотоблок из бензопилы?
Первым делом вам нужно сделать раму в виде куба с размерами сторон около тридцати миллиметров. Двигатель нужно монтировать на диаметральные каркасные углы. С помощью кронштейнов чуть пониже монтируется бак для топлива. Опоры промежуточного вала необходимо установить на вертикальных стойках спереди.
После этого у вас получится мотоблок, удобный и эффективный, у которого центр тяжести размещен прямо над колесной опорной поверхностью. Вы также можете спереди на раме прикрепить грузы. Руль для вождения можно смастерить из металлических труб, которые укладываются в виде перекладины. Для колес можно использовать обрезиненный каток.
Также имеется две звездочки, одна из которых играет главную роль, а вторая оказывает влияние на промежуточный вал.
Устройство управления
Работой самодельного мотоблока или мотокультиватора, как и любой машиной, нужно управлять. Устройствами управления таких самоделок обычно служат рукоятки — они крепятся непосредственно к каркасу рамы. Их делают из двух толстостенных труб, которые изгибают для придания удобной формы (видео это хорошо демонстрирует). На их концах устанавливают ручки газа и муфты сцепления, снятые, например, со старого мопеда.
С коробкой передач на самоделке нет никаких проблем. Лучшие рычаги КП и кикстартера мотокультиватора изготавливают из металлического прутка диаметром 10мм. Кикстартер на самоделке выводят назад, ближе к оператору, тем самым облегчая запуск дизеля. Так же в удобном месте закрепляют рычаги тормоза и переключения скоростей. Передачи зависят от конструкции КПП.
В самоходном мотоблоке можно вместо рукоятей сделать удобный рулевой адаптер. Для этого идеально подходит автомобильная рулевая колонка с сошкой или снятая с трактора. В таком механизме сошка выполняет роль сцепки, совмещая тележку с самоделкой. В сборке рулевого адаптера применяют шаровую опору — она позволяет сделать сцепку независимой. Весь процесс подготовки самодельной сцепки лучше рассмотреть на видео.
Изготавливаем мотоблок из бензопилы Дружба
По мнению дачников, уже испробовавших все прелести самодельных мотоблоков из бензопилы, собранных своими руками, Дружба показывает лучший результат после реконструкции. Процесс сборки, в зависимости от используемого чертежа, может меняться, но общие этапы сборки состоят из следующих шагов:
- Рама проектируется согласно чертежу.
- Устанавливаем специальный фланец на главный вал, посредством которого вал будет крепиться к основной конструкции мотоблока из бензопилы.
- На рынке подержанных деталей приобретаем звездочки от автомобиля УАЗ. С их помощью будет создаваться зазор между поверхностью земли и редукторным мостом.
- Берем подшипники диаметром 30 миллиметров. Крепим их к основному мосту.
- Редуктор, оснащенный коробкой передач, собирается из мотоциклетного двигателя.
- Фрезы и колеса самодельного культиватора устанавливаются на стальную трубу необходимого диаметра.
В качестве управляющего элемента конструкции используются следующие приспособления:
- Самодельное, сделанное их металлической трубы.
- Руль от мотоцикла.
Это интересно: как сделать тележку для мотоблока.

Мотоблок из бензопилы поможет вам сэкономить денежные средства
Описание мотоблока с двигателем от бензопилы
Итак, у нас есть бензопила, которая используется не так уж часто или вовсе валяется без дела. В таком случае, сделав некоторые расчеты и подготовив нужные материалы, наша пила превращается в отличный мотоблок. Принцип сборки самодельной сельскохозяйственной техники, в зависимости от марки производителя, может меняться, но общие принципы заключаются в следующем:
- Самым важным шагом считается подготовка чертежа, руководствуясь которым, вы соберете требуемую конструкцию. Чертежи и схемы мотоблока из бензопилы своими руками можно составить как самому, так и скачав готовые расчеты из интернета. Найти их не составит никакого труда, достаточно вбить запрос в поисковик и подобрать понравившийся вариант сборки.
- Чертежи найдены, а значит, пора собирать раму для нашего мотокультиватора.
- Как только рама готова, к ней крепится мотор пилы и ее бензобак.
- В последнюю очередь устанавливаются дополнительные элементы системы, отвечающие за управляемость и прочий функционал.
Обратите внимание! В качестве мотора подойдет не только мотор от бензопилы, но и двигатель, снятый с мотоцикла или мопеда. В данном видео рассмотрим мотокультиватор из бензопилы дружба:. В данном видео рассмотрим мотокультиватор из бензопилы дружба:
В данном видео рассмотрим мотокультиватор из бензопилы дружба:
Для реализации идеи подготовьте следующие материалы:
- Мотор от любой имеющейся бензопилы. Лучше всего для этого подходит пила Дружба и Урал.
- Руль, снятый с мопеда или мотоцикла.
- Сварочный аппарат.
- Трубы и листы металла, в количестве необходимом для сборки каркаса мотоблока.
- Колеса от нерабочей техники.
- Трансмиссия.
Подготовив все элементы конструкции и собрав их в соответствии с чертежом, вы получите устройство со следующими характеристиками:
- Мощное. Некоторые самодельные конструкции имеют мощность в 9 лошадиных сил.
- Легкое.
- Малогабаритное.
- Моторы, используемые в бензопилах, обладают большим запасом прочности, что позволяет работать на самодельной установке продолжительное время.
- Экономное.
В качестве примера для сборки рассмотрим 2 варианта двигателей, снятых с бензопил Дружба и Урал. Они считаются наиболее подходящими для нашей затеи, и вот почему.
Дружба
Бензопила дружба имеет следующие характеристики:
- Мотор мощностью в 3,5 лошадиных силы.
- Масса – 7 килограмм.
- Объем бензобака – 0,55 литра.
- Объем масляного бачка – 0,26 литра.
Для сборки рекомендуется использовать модель Дружба 4-го поколения.
Продукция, выпускаемая под торговой маркой Урал, имеет отличные от Дружбы характеристики. Различия заключаются в следующих деталях:
- Мощность Урала выше, чем Дружбы, и составляет 5 лошадиных силы.
- Двигатель во время работы вырабатывает много копоти.
- Редуктор, установленный на пилу, имеет свойство время от времени клинить.
- Мелкие соринки, попадая в двигатель пилы Урал, сгорают, не причиняя ему особых повреждений.
Как вы видите, каждая модель имеет свои плюсы и минусы. Делать мотоблок из мотора бензопилы Урал или конструировать самодельный мотоблок из деталей бензопилы Дружба – решать только вам.
Что можно сделать из старой бензопилы “Дружба”
Можно с уверенностью сказать, что популярность бензопил “Дружба” осталась в прошлом — слишком много более совершенных аналогов присутствует на рынке. Однако не стоит списывать некогда востребованную цепную пилу и отдавать в металлолом. Существует масса самоделок из бензопил “Дружба”. Давайте проследим за доработками и переделками, узнаем, какую жизнь может получить устаревший инструмент:
Снегоход из бензопилы “Дружба” (сразу предлагаем чертежи этого агрегата, которые помогут соорудить снегоход своими руками);

1– руль; 2 – топливный бак (от бензопилы «Дружба»; 3 – силовой агрегат (от бензопилы «Урал»); 4 – втулка стойки рулевой лыжи (труба диаметром 30-2 шт.); 5 – рулевая лыжа (2 шт.); 6 – приводное зубчатое колесо гусеницы (капрон, лист s15, 2 шт.); 7 – гусеница (от снегохода «Буран», укороченная); 8 – рама; 9 – опорный каток (от картофельной сортировки, 18 шт.); 10 – подкос спинки-ограничителя (труба ½); 11 – натяжное устройство гусеницы (2 шт.); 12 – натяжное зубчатое колесо гусеницы (капрон, лист s15, 2 шт.); 13 – подшипник №80204 в корпусе (4 шт.); 14 – короб-багажник дно-фанера s4, борта доска s20); 15 – сидение (крышка-фанера s4, поролон, кожзаменитель); 16 – 1-я ступень цепной передачи; 17 – 2-я ступень цепной передачи; 18 – спинка-ограничитель сидения (труба ½ дюйма); 19 – ведомая звездочка 1-й цепной передачи (большая звездочка ходоуменьшителя, промежуточного вала); z=38; 20 – ведущая звездочка 2-й ступени цепной передачи (малая звездочка ходоуменьшителя), z10; 21 – ведомая звездочка 2-й степени цепной передачи (приводная звездочка ведущего вала гусеницы), z18; 22 – ведущая звездочка 1-й ступени цепной передачи (звездочка выходного вала редуктора), z12; 23 – рычаг поворотного кулака; 24 – рулевая тяга (2 шт.); 25 – рулевой вал с сошкой; 26 – балка переднего моста (труба диаметром 30); 27 – приводной вал гусеницы; 28 – натяжная ось гусеницы.
Мопед из мотопилы “Дружба 4” :
- Мотоцикл из цепной пилы “Дружба”.
- Велосипед с двигателем от бензопилы “Дружба”.
- Мотоблок с двигателем от бензопилы “Дружба”. Ниже предложены чертежи такого мотоблока:

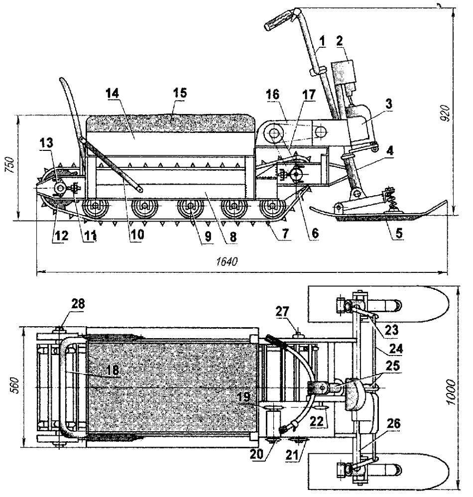
1 — ручка газа 2 — рычаг переключения скоростей, 3 — рычаг сцепления, 4 — ручка управления, 5 — рама, 6 — кронштейн задней навески рабочих орудий, 7 — грунтозацепы. 8 — колесо, 9 — промежуточный узел, 10 — бак, 11 — двигатель. 12 — кожух вентилятора,13 — дефлектор цилиндра, 14 — копирующее колесо, 15 — вилка копирующего колеса, 16 — регулировочная тяга, 17 — лапа культиватора.
Навесное оборудование также можно сделать своими руками, переоборудовав мотоблок в:
- окучник;
- косилка;
- снегоуборочную насадку;
- картофелекопатель;
- сажалки и т. д.
Читайте так же: Электропила Kruger ECSK 25-40: характеристики, инструкция, обслуживание
Можно также изготовить из пилы “Дружба” самостоятельные устройства:
- газонокосилку;
- снегоуборщик
Лодочный мотор из бензопилы “Дружба” — как это выглядит показано на видео:
- https://opilah.com/pila-druzhba/
- https://fermerinform.ru/benzopily-druzhba/
- https://sadovij-instrument.ru/benzopily/druzhba.html
- https://vsekarby.ru/benzoinstrument/benzopily/karbyurator-druzhba-4.html
- http://samodelki-tr.blogspot.com/2015/01/blog-post_35.html
- https://opilah.ru/benzopily-tcepnye/obzor-benzinovyh-pil-druzhba
- https://specmahina.ru/benzopila/druzhba.html
Необходимые инструменты и материалы
Для изготовления мотоблока из бензопилы «Дружба» необходимо подготовить следующие детали и материалы:
- от бензопилы «Дружба» — двигатель, топливный бак, редуктор;
- стальные трубы, уголки или профиль для сборки основания конструкции;
- листы железа для усиления и защиты конструкции;
- рулевое управление, подойдет от мотоцикла или мопеда;
- колеса от мотоцикла или любое другое небольшого диаметра;
- трансмиссия, можно использовать от автомобиля или мопеда;
- крепежные элементы – болты, гайки, шайбы.
В качестве инструмента для работы будут необходимы:
- электросварка;
- угловая шлифмашина («болгарка»);
- гаечные ключи;
- дрель, сверла;
- разметочные инструменты (рулетка, угольник и т.д.).
Рулевое управление можно использовать готовое или изготовить при необходимости самостоятельно из стальных труб. В качестве крепежа можно использовать сварку, при ее отсутствии крепить детали можно при помощи болтового соединения.
Пошаговая инструкция для изготовления снегохода из бензопилы «Дружба»
Как уже неоднократно сказано процесс изготовления зависит от выбранного варианта конструкции, чертежа. Есть сложные схемы, но существует один довольно простой вариант с использованием в качестве основы конструкции обычного снегоката. Он подкупает тем, что уже имеется готовая несущая база основания, рулевое управление и вполне удобное сидячее место. Задача состоит в том, чтобы усилить боковые лыжи, а также закрепить на раме двигатель, передаточный механизм и гусеницу.
Поэтапная инструкция сборки:
- В первую очередь необходимо усилить боковые лыжи. Это можно сделать, приварив к ним профиль или трубы. К ним же крепятся опорные подшипники переднего и заднего натяжных валов. Размер усилительного основания зависит от диаметра переднего вала. Для обеспечения наилучшего сцепления нижняя часть вала должна быть на одном уровне с лыжами.
- Следующий этап — изготовление каркаса крепления гусеницы. Он выполняется из уголка и профильной трубы размером 30х30 мм. Длина каркаса берется с расчетом размеров рамы для крепления двигателя с бензобаком в задней части снегоката. Ширина в пределах ширины снегоката.
- Натяжение гусеницы производится при помощи валов. Работает по принципу натяжения цепи в бензопиле. Натяжной вал перемещается при помощи болта, который в свою очередь фиксируется на раме. В качестве натяжных валов можно использовать бескамерные колеса от ручных тележек, катки от сельскохозяйственной техники или изготовить их вручную вырезав из пластика. Также необходимо установить опорные ролики для гусеницы, только уже без натяжного механизма. Изготавливаются они так же как и натяжные. Для обеспечения необходимого зазора и предотвращения смещения роликов на ось устанавливаются вставочные втулки.
- Гусеница изготавливается из транспортерной ленты толщиной не менее 3 мм. На натяжные валы по центру монтируются зубчатые колеса от снегохода «Буран». Лента разрезается на две части и располагается по краям. Между кусками оставляется расстояние соразмерное ширине зубчатых колес. Траки для сцепки можно изготовить из половинок пластиковой водопроводной трубы или профиля из алюминия. Толщина траков рекомендуется более 5 мм. Крепятся траки на болты или клепки. Зазор между траками должен соответствовать шагу зубчатых колес от «Бурана».
- На задней части пока еще снегоката монтируется площадка с двигателем. На ней также устанавливается бензобак. На ведущий вал монтируется приводная звездочка, в свою очередь на двигатель тоже устанавливается звездочка. Передача усилия передается приводной цепью. Для обеспечения натяжения цепи рама с двигателем должны быть подвижной, звездочки должны находиться на одном уровне.
- После закрепления основных частей для обеспечения безопасности при эксплуатации, движущиеся части снегохода закрывают защитными кожухами из металла или пластика.
Устройство бензопилы Дружба – подробное описание конструкции
В основу конструкции известной советской бензопилы лег мощный 2-тактный одноцилиндровый двигатель МП-1 с воздушной системой охлаждения, обладающий повышенным моторесурсом и хорошей выносливостью. Смазка двигателя осуществляется посредством масла, которое разбавляется в бензине для приготовления топливной смеси. Очистка воздуха, подаваемого в карбюратор, выполняется при помощи поролонового воздушного фильтра. За запуск мотора отвечает надежный и долговечный стартер.
Пильная фурнитура связана с мотором при помощи фланцевых соединений, которые фиксируются крепящимся на рукоятках бензопилы хомутом. Благодаря такой необычной компоновке оператор получает возможность поворачивать шину с пильной цепью под любым, требуемым для работы углом. Помимо этого, данный способ соединения пильной фурнитуры и мотора дает возможность использовать последний в случаях, если появилась необходимость изготовить различные самодельные бытовые агрегаты.
С приготовлением топливной смеси в конструкции бензопилы Дружба 4 справляется карбюратор, состоящий из двух камер. За образование искры, необходимой для воспламенения топлива, отвечает электронное зажигание и свеча. В устройстве бензопилы предусмотрен стандартный глушитель, функция которого заключается в снижении уровня шума при работе с инструментом.
Для передачи и преобразования крутящего момента мотора в конструкции бензопилы Дружба предусмотрен редуктор. Он отличается высокой надежностью и крайне редко требует ремонта даже при эксплуатации бензопилы в тяжелых условиях.
Это интересно: Бензопилы Долмар 115: их характеристики, особенности

























































