Как работает кислородный редуктор
Принцип работы обратного, как наиболее используемого, редуктора следующий. Редуктор по конструкции состоит из двух камер, высокого и низкого давления. Прежде чем поступить в камеру высокого давления от баллона, кислород проходит через фильтр. Между камерами высокого и низкого давления находится мембрана, которая посредством двух пружин воздействует на клапан. Он открывается в зависимости от взаимодействия этих двух пружин.
Что бы установить давление, нужно его отрегулировать при помощи специального регулируемого винта, который открывает клапан. Что бы клапан был перекрыт, винт выкручивают, тем самым ослабляют пружину.

Конструкция кислородного редуктора
Если кислорода уходит больше, чем поступает в камеру низкого давления, пружина, называемая нажимной, деформирует диафрагму своим давлением. При этом клапан открывается на определённый уровень, и кислород начинает увеличивать поступление. Когда объем кислорода в рабочей камере увеличится, его давление, сжимая пружину, деформирует диафрагму в обратную сторону. Этим обеспечивается закрытие клапана и перекрывается подача кислорода. Эта конструкция обеспечивает поддержку нужного давления кислорода в автоматическом режиме.
Два манометра, которые установлены на редукторе, показывают давления высокого – на баллоне или в системе, низкого – на сварочную горелку.
Если модель имеет двухступенчатую конструкцию, это означает, что давление регулируется воздушными камерами, которые называются промежуточными. Они более сложные, более дорогие, но позволяют работать при отрицательных температурах. Подсоединение редуктора к баллону или рампе происходит при помощи специальных накидных гаек. Другие крепежи использовать, в виду взрывоопасности кислорода, не допускается
Также при использовании таких редукторов нужно обратить внимание, при каких температурах он должен использоваться
Правила безопасной эксплуатации
Учитывая взрыво- и пожароопасность кислорода, такие изделия согласно нормам ГОСТ 12.2.008-75 должны периодически подвергаться тщательному регламентному обслуживанию. Применительно к кислородным редукторам типа БКО 50-4 и БКО 50-5 правила обслуживания включают в себя:
- Проверку хода регулирующего винта/маховика от одного крайнего положения в другое: оно должно выполняться плавно, и без заеданий.
- Присоединительные элементы не должны иметь внешних механических повреждений – трещин, царапин, а также быть очищенными от масел, жиров и загрязнений.
- Переодическая проверка манометров не должна быть реже одного раза в год. Критерием необходимости в проверке считается повышенная инерционность стрелки прибора.
- В качестве уплотняющих элементов – прокладок, ниппелей и пр. – не могут использоваться детали, не соответствующие условиям эксплуатации кислородных редукторов.
- Перед каждым применением проверяется (по манометру) герметичность соединений, утечка кислорода из баллона недопустима.
- При присоединённом к редуктору баллоне с кислородом запрещается выполнять какую-либо регулировку.
- Согласно правилам охраны труда между редуктором для кислородного баллона и остальной газосварочной аппаратурой стоит предусматривать монтаж предохранительных устройств, в том числе и для гашения пламени. Это могут быть обратные клапаны, рассчитанные на давление в баллоне, а также предохранительные затворы.
Цена на кислородный редуктор определяется его конструкцией и эксплуатационными возможностями. Для одноступенчатых редукторов цена колеблется в пределах 1800…2000 руб. (БКО 50-4) и 1100…1200 руб. (БКО 50-5). Двухступенчатые устройства (например, БКД-25 или Multi-Stage RG S2 O2 чешского производства) стоят значительно дороже — 11000…12000 руб.
Эксплуатация редуктора.
До присоединения кислородного редуктора необходимо тщательно проверить, нет ли на штуцере и накидной гайке следов масла и т. п. При обнаружении следов жировых веществ редуктор надо промыть в каком- либо растворителе (например, в авиационном бензине).
Далее необходимо проверить исправность резьбы накидной гайки, очистить ее от грязи и пыли, а также проверить наличие и исправность фибровой (для кислородных редукторов) или кожаной (для ацетиленовых редукторов) прокладки, от которой зависит плотность соединения редуктора с вентилем.
После продувания кислородного вентиля баллона или магистрали для удаления из них грязи или стружки, которые могут попасть в редуктор и испортить его клапан, к штуцеру вентиля привертывается и закрепляется ключом накидная гайка кислородного редуктора.
Точно так же необходимо продуть вентиль ацетиленового баллона до присоединения к нему ацетиленового редуктора.
До пуска газа в редуктор его регулирующий винт должен быть вывернут до полного ослабления нажимной пружины, чтобы при открывании вентиля баллона редуктор не мог быть поврежден. Запорный вентиль на редукторе должен быть открыт. К шланговому ниппелю редуктора присоединяют шланг и укрепляют его прочно хомутиками или мягкой проволокой.
Для пуска газа в редуктор необходимо плавно открыть вентиль баллона на пол-оборота маховичка. Если при этом ненормальностей не наблюдается, то вентиль баллона следует открыть до отказа и вращением нажимного регулирующего винта редуктора по часовой стрелке установить по манометру необходимое рабочее давление. Величина рабочего давления кислорода устанавливается при открытом вентиле резака.
Когда же вследствие наличия масла или резкого пуска кислорода произойдет вспышка или сильное нагревание редуктора, необходимо быстро закрыть вентиль баллона, а редуктор снять и отправить в ремонт.
После установления рабочего давления надо проверить, нет ли утечки газа в местах соединений, по резьбе манометров и т. д. Пропуски газа опасны, так как ацетилен и другие горючие газы образуют с воздухом взрывчатые смеси.
После проверки резак зажигают и регулируют пламя.
В процессе работы необходимо следить, чтобы в редукторе не появлялось утечки, замерзания и т. д.
При прекращении работы на 2—3 мин. можно закрыть только вентили на резаке. Если же работа прекращается на 10—15 мин., то помимо вентилей резака закрывают и запорный вентиль редуктора, не изменяя положения регулирующего винта. При перерывах в работе более 10—15 мин. следует дополнительно вывертыванием регулирующего винта ослабить нажимную пружину.
При длительных перерывах и по окончании работы закрывается вентиль баллона или магистрали и полностью выпускается оставшийся в редукторе газ. Затем вращением регулирующего винта против часовой стрелки ослабляется нажимная пружина.
Виды и характеристики. Редуктор БКО 50-4 и БКО 50-5
По своим техническим параметрам редукторы для кислородного баллона подразделяются на две группы – рамповые и постовые. Рамповые редукторы отличаются повышенной пропускной способностью – от 100…120 м3/ч, а потому используются для питания группы сварочных постов, либо для сварочных работ с большими объёмами. Постовые редукторы – индивидуального назначения, они обеспечивают расход кислорода в количествах 5…25 м3/ч (меньшие значения соответствуют меньшим конечным давлениям газа).
Корпуса газовых редукторов внешне однотипны, поэтому при изготовлении их окрашивают в определённые цвета (для кислородных редукторов это голубой цвет).

ГОСТ 13861 предусматривает следующие исполнения кислородных редукторов:
Баллонные, типа БКО, БКД и БПО.
Сетевые, типа СКО, САО, СПО, СМО.
Универсальные (У).
Рамповые (РКЗ, РАД, РПД).
Центральные (ЦКЗ).
Основной технической характеристикой кислородного редуктора является его пропускная способность и значение рабочего давления газа в баллоне. Например, кислородный редуктор типа БКО 50-4 означает, что агрегат предназначен для подключения к баллону с кислородом, является одноступенчатым, и рассчитан для пропускной способности до 50 м³/ч при рабочем давлении газа 4 атмосферы. Соответственно, для кислородного редуктора БКО 50-5 допустимое значение рабочего давления составляет 5 атмосфер. Именно редукторы типа БКО чаще всего и применяются для индивидуальных постов газосварки.

Дополнительными эксплуатационными особенностями кислородных редукторов являются:
Число ступеней редуцирования. Выпускаются одноступенчатые устройства, регулятором давления в которых выступает либо пружина, либо иной узел, и двухступенчатые, где регулирование давления происходит постепенно, при помощи промежуточных пневматических камер. Двухступенчатые редукторы обеспечивают более надёжную работу сварочного поста в условиях низких температур, более стабильны по своим характеристикам, но отличаются конструктивной сложностью и, следовательно, увеличенной ценой;
Способ присоединения. Используется накидная гайка, а не хомут, поскольку взрывоопасность кислорода требует особых требований к герметичности;
Климатическое исполнение. Требование к надёжности работы регулятора тока особенно возрастают, когда газосварка ведётся не только при низких температурах, но и с большими объёмами. При больших расходах давление кислорода быстро снижается, что сопровождается увеличением объёма газа, остающегося в баллоне. Этот физический процесс ускоряет охлаждение газа и редуктора, в результате устройство может потерять работоспособность.
Принципиальными отличиями двухступенчатого кислородного редуктора являются редуцирующий клапан повышенной точности и двухслойная мембрана увеличенной площади, которая изготавливается из высокопрочных синтетических каучуков. Такой материал нечувствителен к изменению внешней температуры, благодаря чему мембрана сохраняет свою работоспособность при отрицательных температурах и давлениях газа до 150…200 атмосфер.
Принцип работы газовых редукторов
Принцип действия редуктора определяется его характеристикой. У редукторов прямого действия — падающая характеристика, то есть рабочее давление по мере расхода газа из баллона несколько снижается, у редукторов обратного действия — возрастающая характеристика, то есть с уменьшением давления газа в баллоне рабочее давление повышается.
Редукторы различаются по конструкции, принцип действия и основные детали одинаковы для каждого редуктора.

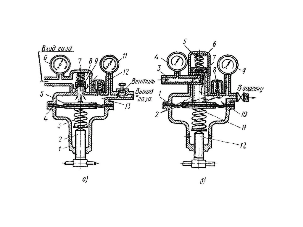
Редуктор обратного действия (рис. 1 а) работает следующим образом. Сжатый газ из баллона поступает в камеру высокого давления 8 и препятствует открыванию клапана 9. Для подачи газа в горелку или резак необходимо вращать по часовой стрелке регулирующий винт 2, который ввертывается в крышку 1. Винт сжимает нажимную пружину 3, которая в свою очередь выгибает гибкую резиновую мембрану 4 вверх. При этом передаточный диск со штоком сжимает обратную пружину 7, поднимая клапан 9, который открывает отверстие для прохода газа в камеру низкого давления 13. Открыванию клапана препятствует не только давление газа в камере высокого давления, но и пружина 7, имеющая меньшую силу, чем пружина 3. Автоматическое поддержание рабочего давления на заданном уровне происходит следующим образом. Если отбор газа в горелку или резак уменьшится, то давление в камере низкого давления повысится, нажимная пружина З сожмётся и мембрана 4 выправится, а передаточный диск со штоком 5 опустится и редуцирующий клапан 9 под действием пружины 7 прикроет седло клапана 10, уменьшив подачу газа в камеру низкого давления. При увеличении отбора газа процесс будет автоматически повторяться. Давление в камере высокого давления 8 измеряется манометром 6, а в камере низкого давления 13 — манометром 11. Если давление в рабочей камере повысится сверх нормы, то при помощи предохранительного клапана 12 произойдет сброс газа в атмосферу.
Помимо однокамерных редукторов применяют двухкамерные, в которых давление газа понижается постепенно в двух камерах редуцирования, расположенных последовательно одна за другой. Двухкамерные (двухступенчатые) редукторы обеспечивают более постоянное рабочее давление и менее склонны к замерзанию, однако они сложнее по конструкции, поэтому двухкамерные (двухступенчатые) редукторы используют тогда, когда необходимо поддерживать рабочее давление с повышенной точностью.
Редукторы прямого действия. В редукторах прямого действия (рис. 1, б) газ через штуцер 3, попадая в камеру высокого давления 6 и действуя на клапан 7, стремится открыть его (а в редукторах обратного действия — закрыть его). Редуцирующий клапан 7 прижимается к седлу запорной пружиной 5 и преграждает доступ газа высокого давления. Мембрана 1 стремится отвести редуцирующий клапан 7 от седла и открыть доступ газа высокого давления в камеру низкого (рабочего) давления 10. В свою очередь мембрана 1 находится под действием двух взаимно противоположных сил. С наружной стороны на мембрану 1 через нажимной винт 12 действует нажимная пружина 11, которая стремится открыть редуцирующий клапан 7, а с внутренней стороны камеры редуктора на мембрану давит редуцированный газ низкого давления, противодействующий нажимной пружине 11. При уменьшении давления в рабочей камере нажимная пружина 11 распрямляется, и клапан уходит от седла, при этом происходит увеличение притока газа в редуктор. При возрастании давления в рабочей камере 10 нажимная пружина 11 сжимается, клапан подходит ближе к седлу и поступление газа в редуктор уменьшается. Рабочее давление определяется натяжением нажимной пружины 11, которое изменяется регулировочным винтом 12. При вывертывании регулировочного винта 12 и ослаблении нажимной пружины 11 снижается рабочее давление и, наоборот, при ввертывании регулировочного винта сжимается нажимная пружина 11 и происходит повышение рабочего давления газа. Для контроля за давлением на камере высокого давления установлен манометр 4, а на рабочей камере — манометр 9 и предохранительный клапан 8.
В практике наибольшее распространение получили редукторы обратного действия как более удобные и безопасные в эксплуатации.
Рассмотрены наиболее востребованные регуляторы для газовых баллонов, их характеристики, фото
Что такое редуктор для газового баллона, его функции, принцип работы, разновидности и области применения. Краткая техническая характеристика наиболее востребованных видов и примерные цены. Обо всем этом данная статья.
Редуктор для газового баллона – это устройство, предназначенное для снижения или поддержания заданного давления при подаче газа из баллона.
Как работают редукторы
Редуктор присоединяют к баллону. Газ проходит через входной фильтр и подается в камеру повышенного давления. Во время вращения винта по часовой стрелке, усиливается нажимная пружина. Усилие передается на мембрану и толкатель, который перемещает редуцирующий клапан. Клапан перемещается и отрывается зазор для прохода газа.
Виды редукторов
В зависимости от вида газа в баллоне, есть несколько типов редукторов, а также они отличаются друг от друга способом присоединения к емкости и по цвету.
В целом регуляторы давления на редукторы горючих газов (водород, пропан, метан) и инертных (азотные, аргоновые, гелиевые).
Характеристика
- Кислородные – предназначены для регулировки подачи кислорода в баллоне. Распространенные маркировки: СКО — 10-2, БКО — 50 мини, РК-70, РКЗ — 500-2. Окрашены в голубой цвет, крепятся с помощью накидных гаек. Пропускная способность от 10 до 500 м3/час. Цена варьируется от 1600 до 21500 рублей.
- Пропановые – регулируют подачу пропана. Маркировки: БПО — 5, СПО — 6, РДСГ-1-MTL (лягушка). Окрашены в красный цвет, крепятся с помощью накидных гаек. Пропускная способность от 1,5 до 1,6 м3/час. Цена – от 400 до 1600 рублей.
- Углекислотные — для регулировки подачи углекислотного газа. Маркировки: УР-6-6, БУО-5-4. Могут быть окрашены в черный цвет или в красный с синим. Крепятся накидными гайками. Пропускная способность 5-6 м3/час. Цена 900-1500 рублей.
- Ацетиленовые – регулируют подачу ацетилена. Маркировки: БАО-5-4, РАО-30-1, САО — 10. Крепятся хомутами. Окрашены в белый цвет. Пропускают от 5 до 30 м3/час. Цена от 1600 до 14300 рублей.
- Аргоновые. Маркировки бывают: АР-40-4ДМ, АР-40-КР1-м-р. Цвет белый или черный. Пропускают 1,8-5,4 м3/час. Цена 1400-1750 рублей.
- Гелиевые. Для регулировки гелия. Маркируются: Г-70-КР1, Г-70-КР1-м. Крепятся гайками. Цвет белый либо черный. Пропускная способность 4,2. Цена около 1500.
| Характеристика, наименование | цвет | Способ крепления | пропускная способность (наибольшее значение) м3/ч | давление газа на входе, (наибольшее значение) МПа (кгс/см2) | рабочее давление газа, (наибольшее значение) МПа (кгс/см2) | Вес не более, кг | Цена (руб.) |
| Кислородные виды | |||||||
| СКО — 10-2 | синий | Накидные гайки | 10 | 1.6 (16) | 0.5 (5) | 1.5 | 2600 |
| БКО — 50 мини | 50 | 20(200) | 1.25 (12.5) | 0.85 | 1600 | ||
| РК-70 | 100 | 20 (200) | 7 (70) | 12.2 | 5910 | ||
| РКЗ — 500-2 | 500 | 20(200) | 1.6 (16) | 10 | 21500 | ||
| Пропановые виды | |||||||
| БПО-5 | красный | Накидные гайки | 5 | 2.5 (25) | 0.3 (3) | 2 | 1300 |
| СПО — 6 | 6 | 0.3 (3) | 0.15 (15) | 1.8 | 1400 | ||
| РДСГ-1-MTL (лягушка) | 1.5 | 1.6 (16) | 0.2-0.36 (2-3.6) | 0.2 | 400 | ||
| Углексилотные виды | |||||||
| УР-6-6 | черный | Накидные гайки | 6 | 10 (100) | 0.6 (6) | 0.61 | 900 |
| БУО-5-4 | Красный, синий | 5 | 10 (100) | 0.35 (3.5) | 1.3 | 1500 | |
| Ацетиленовые виды | |||||||
| БАО-5-4 | белый | Накидной хомут | 5 | 2.5 (25) | 0.15 (1.5) | 0.6 | 1600 |
| РАО-30-1 | 30 | 2.5 (25) | 0.1 (1) | 10 | 14300 | ||
| САО — 10 | 10 | 0.12 (1.2) | 0.1 (1) | 0.8 | 2600 | ||
| Азотные виды | |||||||
| А-90-КР1-м | Белый и черный | Накидные гайки | 5.4 | 20 (200) | 1.0 (10) | 0.74 | 1900 |
| А-30-КР1 | 1.8 | 20 (200) | 2.2 (22) | 0.8 | 2600 | ||
| Аргоновые виды | |||||||
| АР-40-4ДМ | черный | Накидные гайки | 2.4 | 20(200) | 0.8 (8) | 0.78 | 1750 |
| АР-40-КР1-м-р | белый | 2.4 | 20 (200) | 1.0 (10) | 0.78 | 1400 | |
| Гелиевые виды | |||||||
| Г-70-КР1 | белый | Накидные гайки | 4.2 | 20 (200) | 1.6 (16) | 0.8 | 1500 |
| Г-70-КР1-м | черный | 4.2 | 20 (200) | 1.6 (16) | 0.74 | 1200 |
Применение редукторов
- Кислородные редукторы применяются при резке металла, пайке и газосварке. Используются при подводных плаваниях, в медучреждениях.
- Ацетиленовые – применяются для резки труб и газосварке. Используются в автомастерских при кузовном ремонте.
- Пропановые – для резки, для газосварочных, подогревательных работ. Используются для подачи газа к газовым плитам, а также в строительстве.
Требования к приборам
Несмотря на то что по конструктивным особенностям оборудование очень похоже, к кислородным редукторам предъявляются более высокие эксплуатационные требования. Такая разница заключается в том, что О2 в отличие от СО2 не сжижается. Из-за отсутствия данного эффекта давление в баллоне с кислородом достигает 200 атм, в то время как сжиженный углекислый газ характеризуется максимальным давлением в 70-80 атм. Из-за такой разницы, если установить углекислотный редуктор на баллон с кислородом, будет происходить постепенное разрушение уплотнительной мембраны. По этой причине такая замена не допускается, однако провести замену в обратном порядке, то есть установить кислородный редуктор на баллон с углекислотным газом, можно.
Еще одна значительная разница заключена в способе присоединения. Углекислотные редукторы можно крепить при помощи хомута, а кислородные — только при помощи накидной гайки. Такое требование аргументируется тем, что при утечке СО2 нет опасности взрыва или же возникновения пожара, как при утечке О2
Еще одно небольшое, но важное конструктивное отличие заключается в очистном фильтре, которые имеется в углекислотных редукторах. Фильтр предназначен не только для очистки газа, но и для того чтобы препятствовать стравливанию газа обратно в баллон, где может образоваться поверхностная подушка из газа, который вышел из сжиженного состояния

Характеристики и особенности
Для правильного выбора и безаварийной эксплуатации редуктора необходимо знать его назначение и характеристики. Производители и торгующие организации сопровождают свои изделия следующим набором характеристик:
- тип редуктора (обратного или прямого действия);
- количество ступеней;
- пропускная способность;
- величина рабочего давления;
- максимальная величина входного давления;
- климатическое исполнение.
При описании устройства мы остановились на редукторе обратного действия. Это обусловлено тем, что этот тип встречается повсеместно, имеет решающие преимущества над редуктором прямого действия в виде надёжности и условий использования газа из баллона. Подробное описание работы редуктора прямого действия может заинтересовать только узкопрофильных специалистов. Для большинства пользователей достаточно знать, что разница между ними состоит в том, что в редукторе прямого действия давление газа из баллона стремится открыть клапан, а у редуктора обратного действия – наоборот закрыть.
Редукторы бывают одноступенчатые и двухступенчатые. Наибольшее распространение получили одноступенчатые. Они проще по конструкции и, соответственно, дешевле. Двухступенчатые более сложные и дорогие, но бывают случаи, когда без них не обойтись. Наличие промежуточных камер в двухступенчатом редукторе предотвращает возможность обмерзания редуктора при работе с большим расходом газа в условиях низких температур. Они допускают работу при отрицательных температурах и давлении до 200 атмосфер.
Такие характеристики, как пропускная способность, величина рабочего давления и максимальная величина входного давления понятны на интуитивном уровне и не нуждаются в специальных разъяснениях. Климатическое исполнение учитывает особенности работы в различных климатических зонах (жара, холод, сырость, влажность и т.п.).
Устройство и принцип работы кислородного редуктора
Прямое назначение редуктора – обеспечивать постоянное соотношение между входным давлением газа из баллона и выходным, рабочим, которое поступает на сварочную горелку.
Простейший кислородный редуктор состоит из следующих элементов:
- Запорной пружины.
- Впускного клапана.
- Толкателя.
- Мембраны.
- Нажимного диска.
- Нажимной пружины.
Впускной клапан является наиболее ответственным узлом кислородного редуктора. Он постоянно находится под влиянием двух усилий, действующих в противоположных направлениях. Одно из них создаётся исходным давлением кислорода, который находится в баллоне. Это давление стремится отжать запорную пружину вверх, и пропустить газовый поток к толкателю. Вместе с тем второе давление, от мембраны препятствует этому. В результате камера пониженного давления всегда поддерживается равновесие усилий, которые создаются запорной пружиной и мембраной, что обеспечивается настройкой редуктора. В принципе, устройство схоже с ацетиленовым редуктором.

Кислородный редуктор работает в следующей последовательности. При попытке поднять тарелку запорного клапана вверх сила, передаваемая на мембрану от нажимной пружины, стремится воспрепятствовать этому. Если рабочее давление кислорода уменьшить, то нажимная пружина начинает перемещаться вверх и перемещать в том же направлении мембрану. Толкатель преодолевает сопротивление запорной пружины и открывает входное отверстие для прохода газа, находящегося в кислородном баллоне. Расход кислорода соответственно увеличивается. И наоборот, при возрастании рабочего давления оно воздействует на толкатель, тот движется вниз, и производит перекрытие части входного отверстия. При правильно отрегулированном кислородном редукторе между этими двумя процессам постоянно поддерживается динамическое равенство.
Читать также: Код краски мазда сх 7
Регулировка кислородного редуктора заключается в том, что силу натяжения нижней, нажимной пружины можно изменять. В большинстве случаев для этого используется винт с мелким шагом резьбы. Если этот винт вывёртывается, то натяжение пружины ослабевает, а рабочее давление кислорода снижается. При вворачивании винта давление увеличивается.

В комплект обычных редукторов, которые требуются для выполнения газосварочных работ входят два манометра. Один из них контролирует давление на входе в редуктор, а второй – давление после редуцирования.
Конструктивно кислородные редукторы производятся двух исполнений – прямого и обратного. В редукторах прямого давления исходный кислород, который поступает из баллона, стремится открыть клапан, а в редукторах обратного действия – закрыть его, прижав толкатель к седлу.
Зависимость давления кислорода в баллоне, который снабжён редуктором, изменяется по параболической зависимости: оно максимально в начальный период, а со временем понижается до уровня рабочего давления сварочного процесса (в таком случае редуктор фактически уже и не требуется). На практике редуктор обратного действия оказывается более работоспособным, поскольку может обеспечивать постоянство значений рабочего давления (независимо от исходного давления кислорода в баллоне) до полного опоражнивания баллона. В то же время кислородный редуктор прямого действия при полупустом баллоне рабочее давление понижает, поскольку нарушается соотношение сил, действующих на толкатель. Поэтому такие устройства нуждаются в постоянной регулировке сварщиком.





































